Rolled and narrow edge, Rolled and narrow edge -22 – SINGER W1600 User Manual
Page 22
Attention! The text in this document has been recognized automatically. To view the original document, you can use the "Original mode".

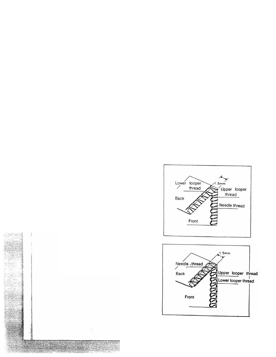
ROLLED AND NARROW EDGE
1 0
carry out either o1 the above sewing tasks proceed as lollows.
(1) Refer to page 20 for special foot position setting.
(2) Turn the handwheel toward you until needles are fully raised.
(3) Open front cover and remove left needle. See page 17.
(4) Set stitch length between 1.0-2.0 mm. See page 15. Also ensure that differential control
is set at ’N' position.
(5) Adjust stitch width,as shown on page 16.
(6) If not already threaded re-thread the machine.
(7) Place fabric under presser foot and start to sew.
Always test the stitch and tension settings on scrap fabric before sewing on an actual
garment.
When either Rolled or Narrow hemming, we recommend you change the threads as
shown on page 22.
ALWAYS remember to re-set the special foot for normal serging after you have finished
your rolled edge procedure.
[ROLLED EDGE]
With a rolled edge the loops formed by the
upper looper thread should be pulled to the
underside of the fabric. This is done by setting
the tensions as shown on page 22.
[NARROW EDGE]
.. .
For seams on sheer or lightweight fabrics, set
tensions as shown on page 22 for a balanced
tension.
-
21