Commande acoustique, Q2031b – Yamaha GQ2015A User Manual
Page 20
Attention! The text in this document has been recognized automatically. To view the original document, you can use the "Original mode".

COMMANDE ACOUSTIQUE
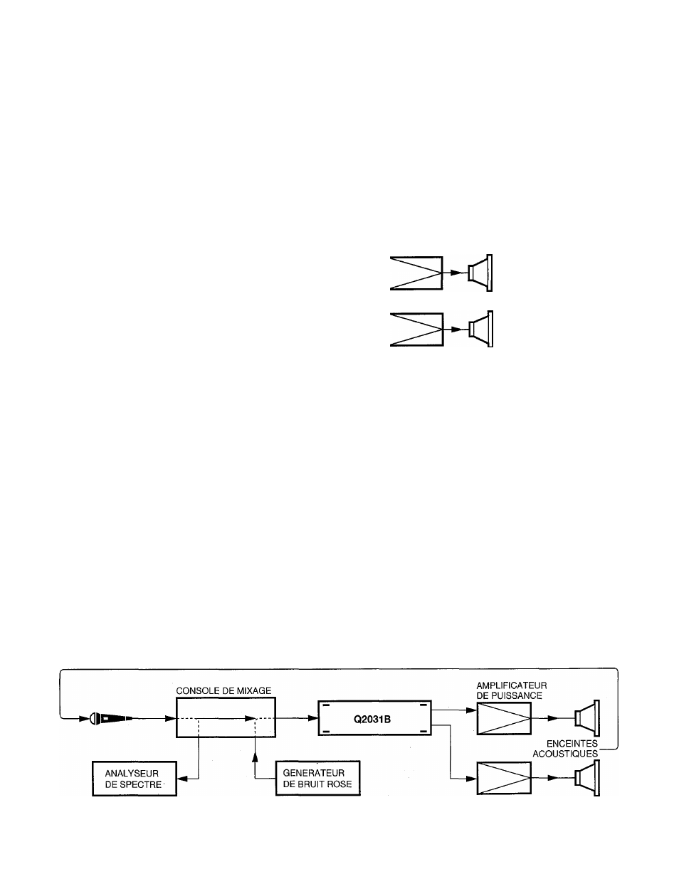
Le diagramme illustre la méthode de connexion du Q2031B. Le GQ2015A est raccordé de la même manière. Dans
le cas du GQ1031C, il vous faudra deux unités pour une installation à deux canaux.
• Maintien en salle de caractéristiques de propagation idéales
Les enceintes acoustiques qui délivrent une réponse parfai
tement linéaire en chambre sourde peuvent avoir une ré
ponse irrégulière en salle de concert du fait des conditions
acoustiques de la salle. L’égaliseur Q2031B peut être utilisé
pour minimiser ces irrégularités.
Pour équilibrer la réponse en fréquence d’un système de re
production, il est nécessaire d’utiliser un générateur de bruit
rose et un analyseur de spectre. Connecter le générateur
de bruit rose à la console de mixage pour que le bruit rose
soit diffusés par les enceintes. Tout en mesurant le bruit
rose à des emplacements stratégiques du local d’écoute en
utilisant un analyseur de spectre, régler le Q2031B de ma
nière à obtenir la réponse recherchée.
AMPLIFICATEUR
DE PUISSANCE
ENCEINTE
ACOUSTIQUE
GENERATEUR
DE BRUIT ROSE
CONSOLE
DE MIXAGE
Q2031B
■Clï
AMPLIFICATEUR
DE PUISSANCE
ENCEINTE
ACOUSTIQUE
ANALYSEUR
DE SPECTRE
Compensation de l’effet Larsen dans des systèmes de contrôle sur scène
Selon les caractéristiques de la salle, un effet Larsen provo
quant un bruit strident ou très aigu peut se produire à des
fréquences spécifiques. Dans un tel cas, l’égaliseur peut
être utilisé pour réduire le niveau aux fréquences affectées
et de ce fait éliminer l’effet Larsen, mais ici aussi il est né
cessaire d’utiliser un générateur de bruit rose et un analyseur
de spectre.
Monter les équipements exactement comme pour un con
cert et connecter le générateur de bruit rose à un connecteur
d’entrée libre de la console de mixage et l’analyseur de spec
tre à connecteur de sortie libre. Après s’être assuré que le
bruit rose est bien diffusé par toutes les enceintes de sono
risation et de contrôle, augmenter progressivement le niveau
de sortie pour déterminer à quelles fréquences se produit
l’effet Larsen. Utiliser le Q2031B pour réduire le niveau à
ces fréquences.
Un réglage correct permettra d’avoir une marge adéquate
contre l’effet Larsen lorsque le niveau de sortie est augmenté.
REMARQUE: Le réalisme sonores qu’il est possible d’atteindre
au moyen d’instruments de mesure est en soi limité. Après
avoir effectué les réglages de propagation en salle et de
compensation de l’effet Larsen, il reste à effectuer les régla
ges définitifs qui eux se font à l’oreille.
Un générateur de bruit rose
produit un bruit aléatoire à niveau constant à travers tout
le spectre sonore (énergie identique par octave).
Un analyseur de spectre
divise le spectre audio en plusieurs bandes et indique la
pression sonore de chacune des bandes.
AMPLIFICATEUR
DE PUISSANCE
19