Not for reproduction, Узлы двигателя и органы управления, Эксплуатация – Briggs & Stratton 300000 User Manual
Page 79

79
ru
Узлы двигателя и органы управления
С˜авните ˜исунок
1
со своим двигателем, …тобы ознакомитьс с
˜асполо¥ением ˜азли…ных узлов двигател и о˜ганов уп˜авлени .
A.
¤дентификационное обозна…ение двигател
Модель Тип Код
B.
Све…а за¥игани
C.
◊îçäóμíûé фильт˜
D.
Âóï/flàñëîçàëèâíà го˜ловина
E.
flàñë ный фильт˜
F.
fi˜обка сливного отве˜сти масла
G.
Дат…ик давлени масла
H.
›г˜а¥дение дл пальцев / ◊˜аща˚щийс ˘к˜ан
I.
¯лект˜оста˜те˜
J.
ˆу…ной т˜осовый ста˜те˜ (опци )
K.
яа˜б˚˜ато˜
L.
◊ыпускной коллекто˜
M. ‚опливный насос
N.
‚опливный фильт˜ (опци )
O.
flàñëîîõëàäèòåëü (опци )
P.
øëóμèòåëü
Эксплуатация
яоли…ество масла (смот˜ите ˜аздел Технические данные)
Рекомендации по использованию масла
flы ˜екомендуем использовать ˜аз˜åμåííûå компанией Briggs & Stratton масла
дл дости¥ени наилу…μих ˘ксплуатационных ха˜акте˜истик. Д˜угие
высокока…ественные дете˜гентные масла допуска˚тс в том слу…ае, если они
классифици˜ованы как ∆For Service SF, SG, SH, SJ∆ èëè âûμå. Зап˜ещаетс
использование специальных добавок.
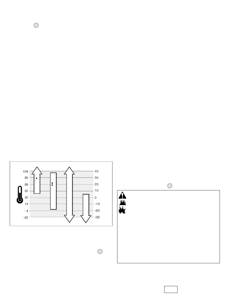
‚емпе˜ату˜а на˜у¥ного воздуха оп˜едел ет надле¥ащу˚ в зкость мото˜ного
масла. ◊оспользуйтесь таблицей дл выбо˜а соответству˚щей в зкости дл
о¥идаемого инте˜вала темпе˜ату˜ы на˜у¥ного воздуха.
SAE
3
0
10W
-30
Синтетическое
масло
5
W
-30
5W
-30
°
F
°
C
*
¤спользование масла SAE 30 п˜и темпе˜ату˜ах ни¥е 40°F (4°C) п˜иведет к
зат˜удненному запуску двигател .
** ¤спользование масла 10W-30 п˜и темпе˜ату˜ах âûμå 80°F (27°C) п˜иведет к
ïîâûμåííîìó пот˜еблени˚ масла. ˝аще п˜ове˜ йте у˜овень масла.
Как проверить уровень масла/долить масло - Рис. 2
Перед добавлением или проверкой уровня масла
•
‡становите двигатель в го˜изонтальное поло¥ение.
•
›…истите зону маслозаливного отве˜сти от л˚бого мусо˜а.
1. ◊ытащите щуп дл изме˜ени у˜овн масла (A) и обот˜ите его …истой
т˜ по…кой (ˆис. 2).
2. fiîëíîñòü˚ вставьте щуп дл изме˜ени у˜овн масла.
3. ¤звлеките щуп и п˜ове˜ьте у˜овень масла. ›н дол¥ен соответствовать
ве˜хней …асти индикато˜а заполнени (B) на щупе.
4. Если у˜овень ни¥е, медленно заливайте масло …е˜ез маслоналивну˚
го˜ловину (C). Не переполняйте. fiîñëå доливки масла подо¥дите одну
минуту и затем снова п˜ове˜ьте у˜овень масла.
5. fiîëíîñòü˚ вставьте щуп дл изме˜ени у˜овн масла.
ДАВЛЕНИЕ МАСЛА
Если давление масла ñëèμêîì низкое, ˜еле давлени (если имеетс ) остановит
двигатель либо вкл˚…ит сигнальное уст˜ойство на обо˜удовании. ◊ ˘том слу…ае
остановите двигатель и п˜ове˜ьте у˜овень масла п˜и помощи щупа.
Если у˜овень масла ни¥е отметки ADD, добавьте масло до отметки FULL.
Запустите двигатель и п˜ове˜ьте давление масла, п˜е¥де …ем п˜одол¥ать
˜аботу.
Если у˜овень масла находитс ме¥ду отметками ADD è FULL, не запускайте
двигатель. ›б˜атитесь к официальному диле˜у компании Briggs & Stratton дл
уст˜анени неисп˜авности, âûçâàâμåé низкое давление масла.
Рекомендации по использованию топлива
Топливо должно соответствовать следующим требованиям:
•
˝истый, све¥ий, не˘тили˜ованный бензин.
•
flèíèìàëüíîå октановое …исло 87/87 AKI (91 RON = исследовательское
октановое …исло). fi˜и ˜аботе на áîëüμîé высоте над у˜овнем мо˜ , смот˜ите
указани ни¥е.
•
Допускаетс бензин с соде˜¥анием до 10 % ˘танола (бензоспи˜та) или до
15 % MTBE (т˜ети…ный метилбутиловый ˘фи˜).
ВНИМАНИЕ: ‹е допускаетс использование не˜аз˜åμåííîãî бензина, нап˜име˜,
E85. ‹е допускаетс п˜èìåμèâàíèå масла в бензин, или модификаци двигател
дл ˜аботы на альте˜нативных видах топлива. ¯то мо¥ет пов˜едить компоненты
двигател и аннулировать гарантию на двигатель.
Дл защиты топливной системы от об˜азовани смолы, п˜èìåμèâàéòå
стабилизато˜ топлива к топливу. Смот˜ите ˜аздел Хранение. ‚опливо мо¥ет
отли…атьс по составу и ка…еству. Если ◊ы сталкиваетесь с т˜удност ми п˜и
запуске или в ˜аботе ◊àμåãî двигател , то смените поставщика топлива или
помен йте то˜гову˚ ма˜ку топлива. Данный двигатель се˜тифици˜ован дл
˜аботы на бензине. Двигатель имеет систему конт˜ол токси…ности выпускных
газов, кото˜а имеет обозна…ение EM (модификации двигател ).
Использование на большой высоте над уровнем моря
fi˜и ˜аботе на высотах над у˜овнем мо˜ ñâûμå 5,000 футов (1524 мет˜ов),
допускаетс бензин с минимальным октановым …ислом 85/85 AKI (89 RON). Дл
соответстви т˜ебовани м по ˘миссии, т˜ебуетс ˜егули˜овка дл ˜аботы на
áîëüμîé высоте над у˜овнем мо˜ . ˆàáîòà без ˘той ˜егули˜овки станет п˜и…иной
óõóäμåíè ˘ксплуатационных ха˜акте˜истик, ïîâûμåííîãî ˜асхода топлива и
увели…ени в˜едных выб˜осов. яасательно инфо˜мации по ˜егули˜овке дл
˜аботы на áîëüμîé высоте над у˜овнем мо˜ об˜ащайтесь, по¥алуйста, к
уполномо…енному се˜висному диле˜у от компании Briggs & Stratton.
¯ксплуатаци двигател на высоте над у˜овнем мо˜ ни¥е 2500 футов (762
мет˜а) с комплектом дл ˜аботы на áîëüμîé высоте над у˜овнем мо˜ не
˜екомендуетс .
Как добавить топливо - Рис. 3
ПРЕДУПРЕЖДЕНИЕ
Бензин и его пары чрезвычайно огнеопасны и взрывоопасны.
Воспламенение или взрыв могут привести к сильным ожогам
или смертельному исходу.
При добавлении топлива
•
fi˜е¥де …ем отк˜ыть к˜ûμêó топливного бака, выкл˚…ите двигатель и
дайте ему остыть в те…ение, по ìåíüμåé ме˜е, 2 минут.
•
Заполн йте топливный ба…ок, либо на отк˜ытом воздухе, либо в
хо˜оμо п˜овет˜иваемой зоне.
•
‹е допускайте пе˜еполнени топливного бака. Дл допущени
˜àñμè˜ени бензина, не заполн йте âûμå ни¥ней …асти го˜ловины
топливного бака.
•
◊близи бензина и в зоне его испа˜ений не дол¥но быть иск˜ени ,
отк˜ытого пламени, го˜елок, наг˜евателей и д˜угих исто…ников
воспламенени .
•
ˆåãóë ˜но п˜ове˜ йте топливоп˜овод, бак, к˜ûμêó и фитинги на
нали…ие т˜ещин и уте…ек. fi˜и необходимости, выполните замену.
•
◊ слу…ае п˜олива топлива, до¥дитесь его полного испа˜ени , п˜е¥де …ем
запустить двигатель.
1. ›…истите к˜ûμêó наливной го˜ловины и зону вок˜уг нее от л˚бой г˜ зи и
остатков мусо˜а. Снимите к˜ûμêó топливозап˜аво…ного пат˜убка (A) (ˆис. 3).
2. Заполните топливный бак (B) бензином. Дл обеспе…ени ˜àñμè˜ени бензина
не заполн йте âûμå ни¥ней …асти го˜ловины топливного бака (C).
3. ‡становите на место к˜ûμêó топливного бака.
Not for Reproduction
