Panasonic CS-XE9PKUA User Manual
Page 43

43
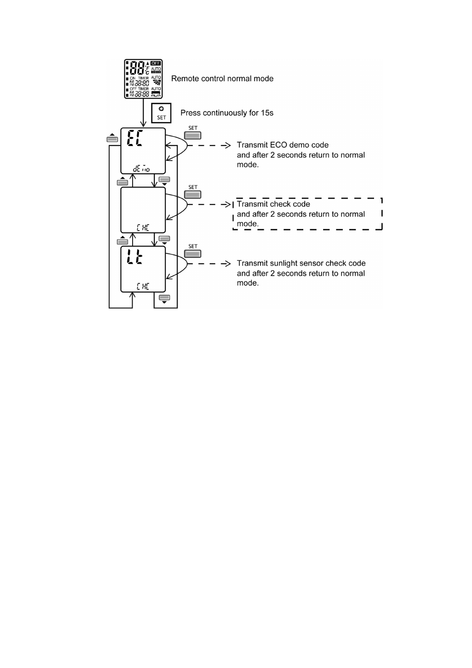
12.12.1.12 Human Activity Sensor Check Mode
To enable human activity sensor abnormality check mode:
During ECONAVI is ON, when CHECK signal received, if either sensors has abnormality, the 4 times abnormality
counter is ignored, ECONAVI Indicator will blink immediately and error code is memorized.
The unit could operate without ECONAVI or AUTO COMFORT.
The ECONAVI indicator blinking could be cancelled by pressing ECONAVI button again.
If the human activity sensor has no abnormality, the CHECK process will end and continue with normal operation.
This manual is related to the following products:
See also other documents in the category Panasonic Fans:
- BG1002 (1 page)
- FV-08VKSL2 (16 pages)
- AC Fan Motor (ASEN9) (1 page)
- DC Axial Fans FBA11J10M (1 page)
- BM6025 (1 page)
- DC Axial Fans FBA06A (1 page)
- DC Axial Fans 2806RL (1 page)
- 26PEU1U6 (28 pages)
- 26PEU1U6 (198 pages)
- 26PEU1U6 (198 pages)
- 26PEU1U6 (64 pages)
- KE12NB41 (69 pages)
- KE12NB41 (20 pages)
- KE18NB4U (2 pages)
- KE12NB41 (24 pages)
- KE12NB41 (7 pages)
- 26PEU1U6 (53 pages)
- FV-10VSL2 (12 pages)
- FV-10VSL2 (8 pages)
- FV-08VKSE3 (12 pages)
- FV-08VRL1 (8 pages)
- FV-08VSL1 (15 pages)
- FV-40VQ3 (8 pages)
- FV-11VQC5 (11 pages)
- FV-20NLF1 (9 pages)
- EY7880LP2S (160 pages)
- EYFMA1JR (56 pages)
- EY6409NQKW (12 pages)
- EY6432NQKW (12 pages)
- FV-20NLF1 (9 pages)
- EY7940LR2S (50 pages)
- EYFLA6PR (56 pages)
- FV-07VFH3 (12 pages)
- KS18NB4UA (30 pages)
- KS18NB4UA (18 pages)
- KS18NB4UA (69 pages)
- FV-08VFL3 (16 pages)
- FV-13VKS3 (12 pages)
- FV-05VFM2 (12 pages)
- EY7411LA1S (44 pages)
- EY75A1X (56 pages)
- EYFEA1N2S (46 pages)
- EYFLA6P (56 pages)
- FV-11VF2 (14 pages)
- FV-11VF2 (11 pages)
