2 - a, 1 - p – Amana Gas Furnance S)8 User Manual
Page 13

13
E
XTERIOR
MASONRY
C
HIMNEYS
- C
ATEGORY
I F
URNACES
O
NLY
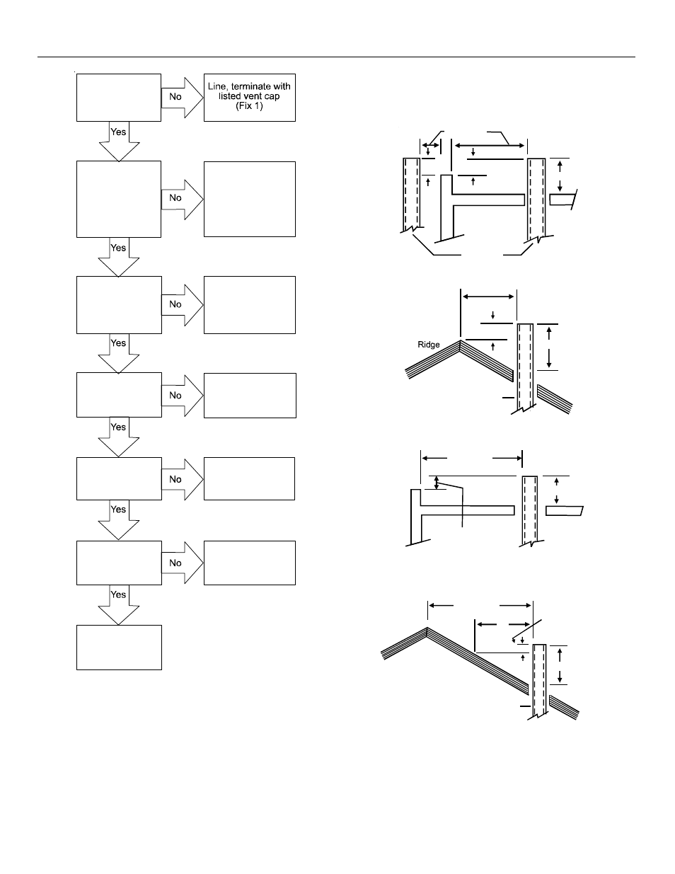
If the chimney does not meet these termination requirements,
but all other requirements in the checklist can be met, it may
be possible for a mason to extend the chimney. If this will not
be practical, see Fix 1.
Wall or
Parapet
2' Min.
2' Min.
3' Min.
Chimney
10' or Less
10' or Less
2' Min.
3' Min.
Chimney
Termination 10 Feet Or Less From Ridge, Wall or Parapet
More than 10’
Wall or
Parapet
NOTE: No Height
above parapet
required when distance
from walls or parapet is
more than 10 feet.
Chimney
3’ Min.
More than 10’
10’
2” Min.
3’ Min.
Chimney
Height above any
roof surface within
10 feet horizontally.
Ridge
Termination More Than 10 Feet From Ridge, Wall or Parapet
C
HECK
2 - A
NY
SOLID
OR
LIQUID
FUEL
APPLIANCES
VENTED
INTO
THIS
CHIMNEY
CHANNEL
Solid fuel appliances include fireplaces, wood stoves, coal fur-
naces, and incinerators.
Proper Chimney
Termination?
(Check 1)
Chimney channel
free of solid and
liquid fuel
appliances?
(Check 2)
Change venting
arrangements
(Fix 2)
Crown in good
condition
(Check 3)
Rebuild crown
(Fix 3)
and/or Reline
(Fix 4)
Reline
(Fix 4)
Reline
(Fix 4)
Cleanout free of
debris?
(Check 4)
Liner in good
condition?
(Check 5)
Reline
(Fix 4)
Dilution air
available?
(Check 6)
Complete the
installation.
(Check 7)
C
HECK
1 - P
ROPER
CHIMNEY
TERMINATION
.
A masonry chimney used as a vent for gas fired equipment
must extend at least three feet above the highest point where it
passes through the roof. It must extend at least two feet higher
than any portion of a building within a horizontal distance of 10
feet. In addition, the chimney must terminate at least 3 feet
above any forced air inlet located within 10 feet. The chimney
must extend at least five feet above the highest connected equip-
ment draft hood outlet or flue collar.