Panasonic KX-TD612NZ User Manual
Page 240

Appendix
240
User Manual
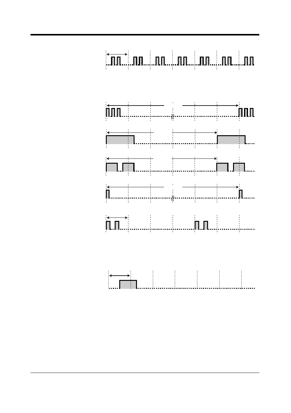
During a conversation
When setting the features programming
Do Not Disturb Tone
The dialled extension is
denying incoming calls.
Indication Tones
Tone 1
Call waiting tone (default)
Tone 2
Call waiting tone from outside
Tone 3
Call waiting tone from another
extension
Tone 4
A call is held for more than a
specified time (default: 60
seconds)
Tone 5
Call hold tone
Confirmation Tones
Tone 1
•
Set/cancel to deny other
people the possibility of
using your phone.
•
The new setting differs from
the previous setting by
personal programming.
•
Completing the system
programming.
1 s
15 s
5 s
5 s
15 s
1 s
1 s
See also other documents in the category Panasonic Phones:
- kx-t7731 (16 pages)
- kx-dt343 (24 pages)
- KX-TG6052AL (52 pages)
- DBS 576 (18 pages)
- KX-TD816 (131 pages)
- KX-T2375ALW (36 pages)
- KX-FPG378 (110 pages)
- KX-PW616 (24 pages)
- KX-TDA50 (40 pages)
- KX-PW30CL2 (6 pages)
- KX-FM280 (172 pages)
- KX-TDA30 (214 pages)
- KX-T2365A (17 pages)
- KX-T7450 (31 pages)
- VE-GP03 (2 pages)
- KX-TCD535HK (116 pages)
- X-TSC14B (52 pages)
- VA-309 (43 pages)
- KEY TELEPHONE (72 pages)
- BB-GT1500C (108 pages)
- KX-TG2257S (96 pages)
- 44-Series (87 pages)
- KX-TG8220E/KX-TG8222E (10 pages)
- Easa-Phone KX-T2342A (14 pages)
- KX-WP1050E (9 pages)
- KX-T7630E (12 pages)
- KX-TDA30AL (16 pages)
- IP8840 (36 pages)
- BB-GT1540 (112 pages)
- 524X07801B (334 pages)
- KX-TG2356 (87 pages)
- HYBRID IP-PBX KX-TDA50 (158 pages)
- DBS 576HD (4 pages)
- KX-T7700 (2 pages)
- KX-TS550B (2 pages)
- CPC-EX (204 pages)
- KX-TG5456 (76 pages)
- VA-12020 (4 pages)
- KX-TDA0484 (68 pages)
- KX-TG7622 (100 pages)
- VA-20861 (56 pages)
- KX-T2395D-W (54 pages)
- JOIP BB-GT1540E (112 pages)
- KX-TC1220NZW (60 pages)
- KX-TDA (87 pages)
