Come collegare l’unità – Pioneer PRS-D3000SPL User Manual
Page 68

11
Come collegare l’unità
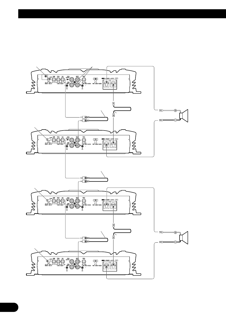
Quattro amplificatori collegati in parallelo
• La sezione dei cavi degli altoparlanti deve essere di almeno 12 AWG.
• Il carico può essere costituito da una qualsiasi combinazione di altoparlanti, mentre l’impedenza deve
essere di almeno 4
Ω.
Il commutatore MODE SELECT deve
trovarsi nella posizione MASTER.
Come collegare con
spine tipo RCA
(venduto a parte).
Come collegare con
spine tipo RCA
(venduto a parte).
Come collegare con
spine tipo RCA
(venduto a parte).
Come collegare i cavi
degli altoparlanti
(venduti a parte).
4
Ω
minimo
2.000 W
4
Ω
minimo
2.000 W
Il commutatore MODE
SELECT deve trovarsi
nella posizione SYNC
INV. Prima di impostare
la posizione rimuovere la
vite ed il dispositivo di
arresto.
Il commutatore MODE
SELECT deve trovarsi
nella posizione SYNC
INV. Prima di impostare
la posizione rimuovere la
vite ed il dispositivo di
arresto.
Il commutatore MODE
SELECT deve trovarsi
nella posizione SYNC
INV. Prima di impostare
la posizione rimuovere la
vite ed il dispositivo di
arresto.
Come collegare i cavi
degli altoparlanti
(venduti a parte).
Da collegare all’impianto stereo del veicolo. Per dettagli in merito
si prega di vedere la sezione “Schema di collegamento”.