Écoute d’une émission hd radio, Lors de la réception, Recherche de station hd radio uniquement – JVC GET0626-001A User Manual
Page 83: Changement du mode de réception hd radio

15
FRANÇAIS
Écoute d’une émission HD Radio ™
Avant de commencer, connectez le tuner
HD Radio, KT-HD300 (non fourni) au port
d’extension à l’arrière de l’appareil.
• Pour en savoir plus, référez-vous aussi aux
instructions fournies avec le tuner HD Radio.
Qu’est-ce que la technologie HD Radio?
La technologie HD Radio permet de diffuser un
son numérique de grande qualité—la bande
AM numérique a une qualité équivalente
à la bande FM (en stéréo) et la bande FM
numérique a une qualité équivalente aux CD—
sans bruits statiques et avec une réception
claire. De plus, les stations peuvent offrir des
textes et des données, tels que les noms des
artistes et les titres des morceaux.
• Quand le tuner HD Radio est connecté, il
peut aussi recevoir les émissions analogiques
conventionnelles.
• Beaucoup de stations HD Radio offrent aussi
plus d’un canal de programmes. Ce service est
appelé multiplex.
• Pour en savoir plus sur les stations HD Radio
dans votre région, consultez le site
Pour les opérations radio de base,
7, 8.
Lors de la réception...
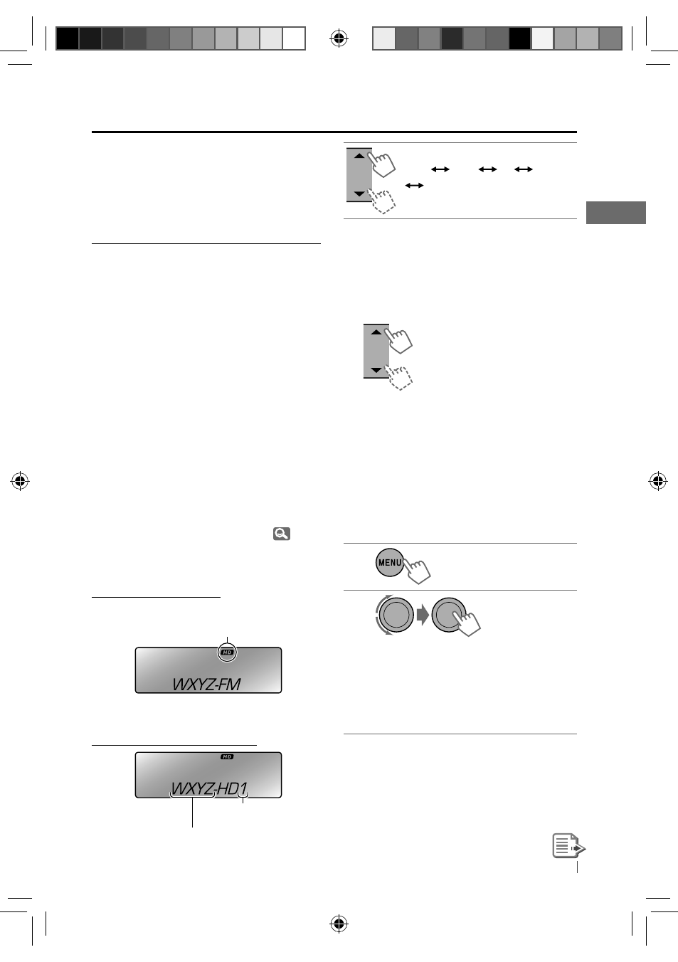
Une station HD Radio
Le signe d’appel de la station apparaît.
Canaux multiplex HD Radio
Choisissez le canal souhaité.
HD1
HD2
....
HD8
(retour au début)
“LINKING” apparaît pendant la liaison à un canal
multiplex.
Recherche de station HD Radio
uniquement
“HD” clignote.
Changement du mode de
réception HD Radio
Lors de la réception d’une émission HD Radio,
l’appareil reçoit un signal numérique ou
analogique automatiquement en fonction des
conditions de réception.
Lors de l’écoute d’une station HD Radio...
1
2
]
“HD” s’allument quand la réception
numérique est maintenue ou clignote
quand la réception analogique est
maintenue.
• Si aucune son ne peut être entendu avec
le réglage
• Le réglage change automatiquement sur
ou changez de station, ou si vous mettez
l’appareil hors tension.
S’allume quand un signal numérique est diffusé
Clignote quand un son analogique est diffusé
Numéro du canal
Les quatre premières lettre du signe d’appel
[Maintenez pressée]
[Maintenez pressée]
FR10-19_KD-A315_R310[J]1.indd 15
FR10-19_KD-A315_R310[J]1.indd 15
9/24/09 2:17:31 PM
9/24/09 2:17:31 PM
