Multiquip A.C. Generator Used with MLT Series Modular Light Towers KD6 User Manual

Page 114

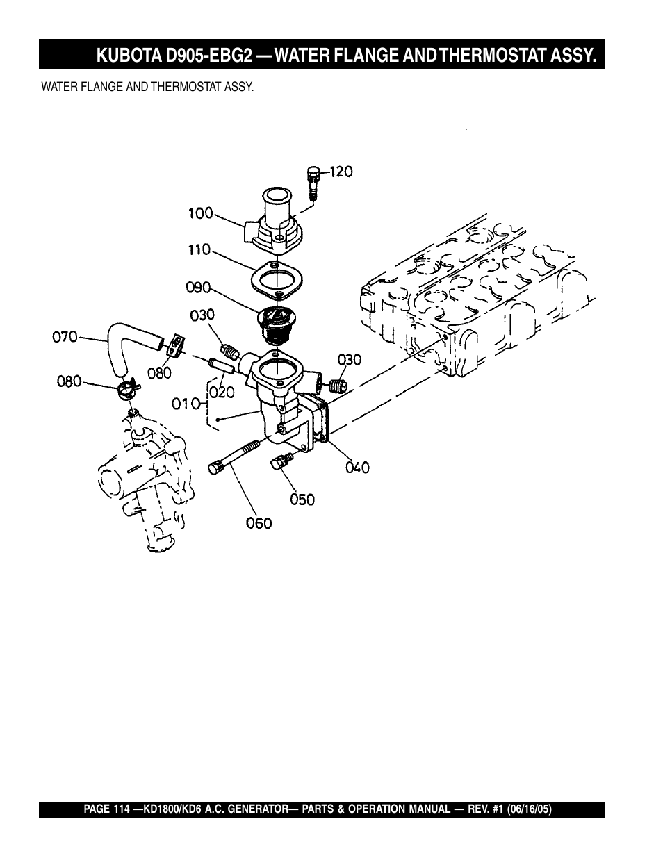
Multiquip A.C. Generator Used with MLT Series Modular Light Towers KD6 User Manual | Page 114 / 134 Multiquip A.C. Generator Used with MLT Series Modular Light Towers KD6 User Manual | Page 114 / 134
This manual is related to the following products: