Search
Directory
Brands
Grizzly manuals
Mixers
G0484
Manual
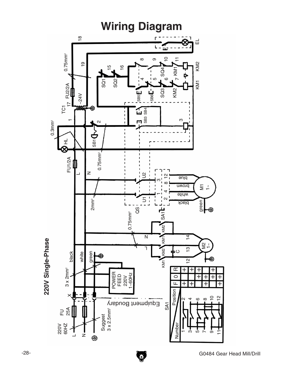
Wiring diagram, 220 v single- p hase, Equipment boudary – Grizzly G0484 User Manual
Page 30
Text mode
Original mode
Wiring diagram, 220 v single- p hase, Equipment boudary | Grizzly G0484 User Manual | Page 30 / 48
Pages:
1
…
28
29
30
31
32
…
48
wrong Brand
wrong Model
non readable
See also other documents in the category Grizzly Mixers:
Low Profile Cement T10095
(24 pages)
G0484
(2 pages)
H8172
(24 pages)
T10095
(2 pages)