Blu Bathworks TEP421 User Manual
Page 16

2014-01
1 866 907 0122 blubathworks.com
®
15
2013-12
1 866 907 0122 blubathworks.com
®
5
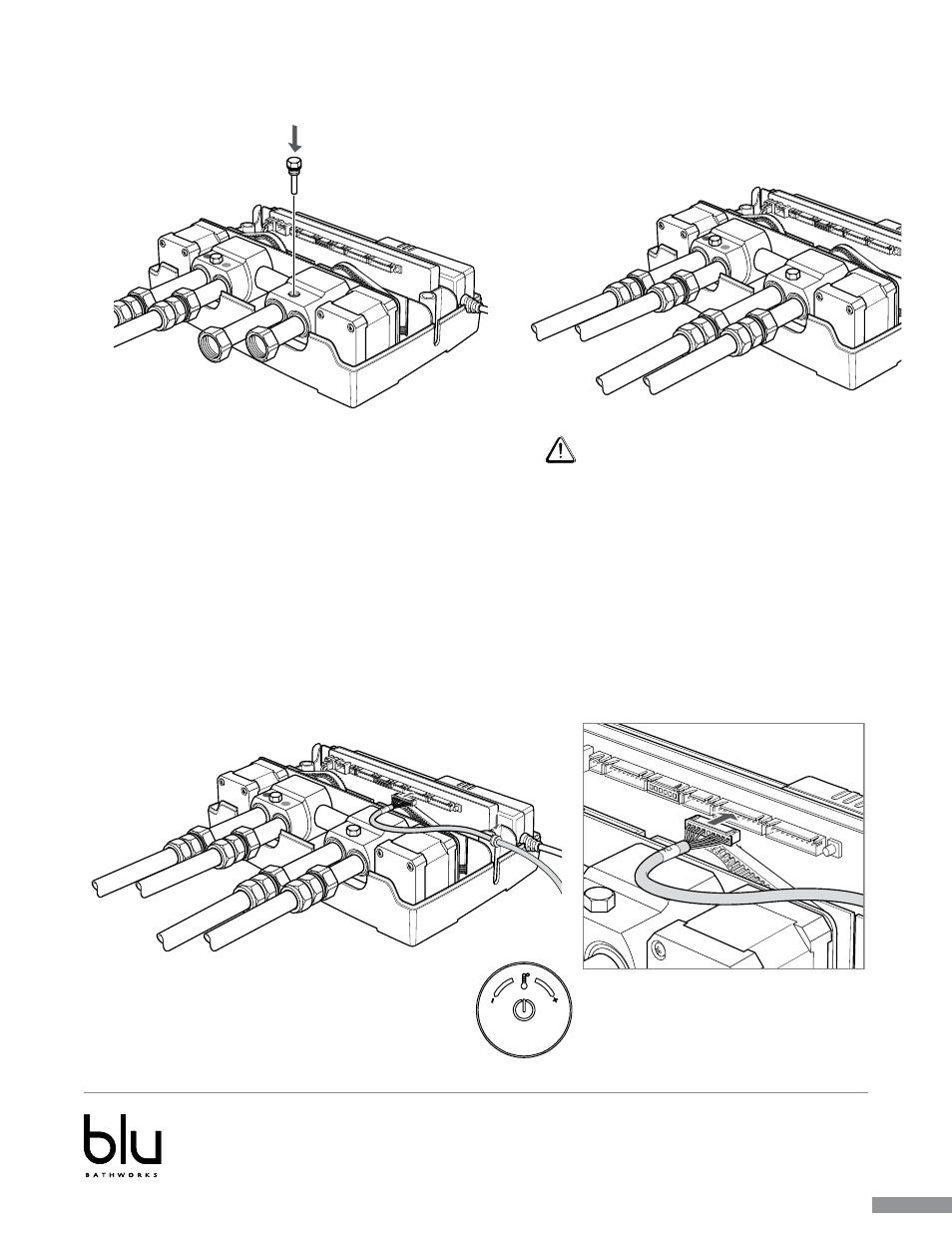
Step 11
Step 12
Step 13
Re-insert the outlet connectors retaining bolt.
Connect the data cable from the on-off/temperature
control to the ‘TLI’ port in the control box.
Attach the supplied NPT adaptor pipework to
the outlet connectors.
Make a note of which pipe goes to which outlet.
Note: Make sure that the pipework is perpendicular to
the control box so that there is no strain on the fittings,
use pipe clips as required.
Run a pipe from the mixed water outlet on the control
box through the wall to the proposed position of the
shower hose outlet etc.
15V
Battery
Battery
15V
Battery
See also other documents in the category Blu Bathworks For Home:
- BEP002 (7 pages)
- BCM4214 (6 pages)
- BCA971M (9 pages)
- BCA141MR (10 pages)
- BCT180 (6 pages)
- SA1810 (6 pages)
- BCS14N (10 pages)
- BCS18N (10 pages)
- BT8004B168 (10 pages)
- BT0408 (8 pages)
- BCZ915C X2 (13 pages)
- SA2018B (4 pages)
- SA1018C (4 pages)
- SB9250 (10 pages)
- SA3023 (5 pages)
- SA0208 (6 pages)
- SA0110 (7 pages)
- SA0507 (5 pages)
- LSeat-006 (12 pages)
- LF8004 (14 pages)
- LW6030 (11 pages)
- LB9030 (6 pages)
- TSP611 (7 pages)
- TSU611 (7 pages)
- TF500 (6 pages)
- TF800 (6 pages)
- TF514 (9 pages)
- TF260 (9 pages)
- TSP511 (11 pages)
- TSU510 (10 pages)
- TSP421 (15 pages)
- TSU431 (11 pages)
- TEE200 (19 pages)
- TSP101 (7 pages)
- TSU140 (13 pages)
- TEP131 (17 pages)
- TEU131 (17 pages)
- TSP141 (9 pages)
- TSP131 (10 pages)
- TSU101 (7 pages)
- TSU131 (10 pages)
- TSU141 (9 pages)
- TSP211 (6 pages)
- TSU211 (6 pages)
