Using audio and telephone headset accessory jacks – ClearSounds 40XLC User Manual
Page 18

18
Receiving/Answering A Call Using The Speakerphone
1. Press
the
“SPKR” (speakerphone) button while the phone is ringing to answer.
2. Adjust the volume to fit your need (Same as above).
3. On completion of the call, press the “SPKR” button again.
Switch between Handset and Speakerphone
While on a handset call, press the “SPKR” button and replace the handset in the cradle.
While on a speakerphone call, lift the handset.
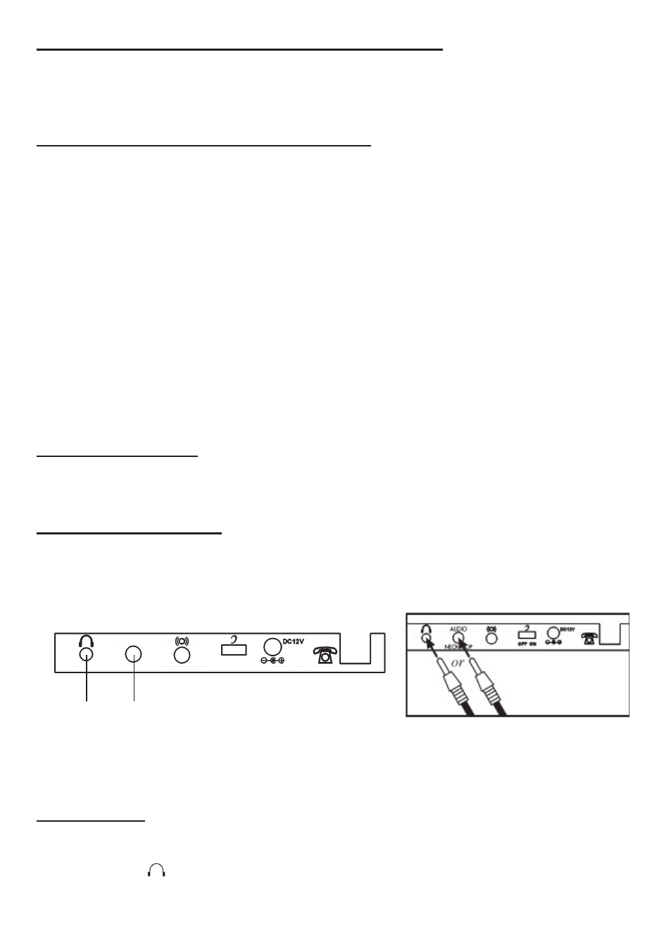
USING AUDIO AND TELEPHONE HEADSET ACCESSORY JACKS
Your 40XLC Amplified Phone is equipped with both an Audio and Telephone Headset
Jack, providing total flexibility and multi-functionality
(See figure #22).
Both the Audio &
Headset jacks are amplified, allowing you to adjust both the tone and volume.
(See pages
19-21 for instructions on the amplification features.)
These jacks accommodate a variety of ac-
cessories including Neckloops, Headphones, Earbuds, Silhouettes, Cellular Accessories
and Cochlear Patchcords*.
*Caution: Before plugging any cord into your Cochlear processor, you should consult with
your implant manufacturer.
Audio/Neckloop Jack
Using the 3.5mm stereo/mono jack allows you to listen through your Neckloop or Headset
while speaking into the handset or speakerphone.
Telephone Headset Jack
Using the 2.5mm stereo jack that can accommodate many hands-free headsets allows for
total hands-free operation as you listen and speak through your hands-free headset.
Making A Call:
1. Plug your Neckloop, Headphones, Headset or other jack accessory into the Audio/
Neckloop Jack or Headset Jack.
2. Press
the (headset) button for dial tone
(See figure #23).
3. Dial the number and wait for someone to answer.
Figure #22
Audio & Telephone Headset Jack Location
Audio Jack
(only)
Telephone
headset
Jack
