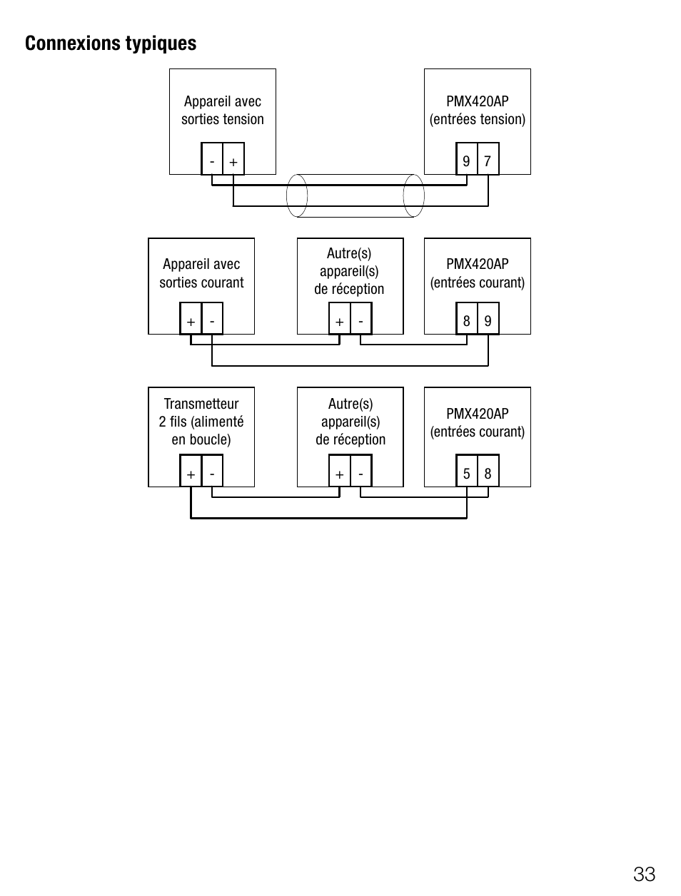
Connexionstypiques – Weidmuller PMX420SERIES - Display instrument for control panel User Manual
Page 33
See also other documents in the category Weidmuller Hardware:
- ACT20X (182 pages)
- ACT20X-HDI-SDO: NAMUR pulse isolator (2 pages)
- ACT20X-SDI-HDO: Solenoid/Alarm driver (2 pages)
- G108 Ultra SlimPak (4 pages)
- G118 Ultra SlimPak (4 pages)
- G128 Ultra SlimPak (4 pages)
- G168 Ultra SlimPak (4 pages)
- G408 Ultra SlimPak (4 pages)
- G408-1000 Ultra SlimPak (4 pages)
- G418 Ultra SlimPak (4 pages)
- G428 Ultra SlimPak (4 pages)
- G438 Ultra SlimPak (4 pages)
- G448 Ultra SlimPak (4 pages)
- G468 Ultra SlimPak (4 pages)
- G478 Ultra SlimPak (4 pages)
- HS01 Heat Sink (Ultra SlimPak series) (2 pages)
- WAVE Analog 2 OLP (7 pages)
- WAVE Analog DC/DC (7 pages)
- WAVE Analog DC Alarm (10 pages)
- WAVE Analog OLP (7 pages)
- WAVE Analog PRO Bridge (9 pages)
- WAVE Analog PRO DC (15 pages)
- WAVE Analog PRO Frequency (15 pages)
- WAVE Analog PRO RTD (13 pages)
- WAVE Analog PRO Thermo (13 pages)
- DC/DC CCC DC - with voltage supply on both sides (8 pages)
- DC/DC CCC HF - with 3 way separation (5 pages)
- DC/DC CCC LP - with voltage supply on the output side (8 pages)
- DC/DC CCC LP - without additional voltage supply (8 pages)
- PT 100/2 sig conditioners for current output (14 pages)
- PT 100/2 sig conditioners for voltage output (12 pages)
- PT 100/4 signal conditioners for current output (18 pages)
- PT 100/4 signal conditioners for voltage output (14 pages)
- Thermo Signal Conditioners for current & voltage output (14 pages)
- WAVE Control: Current Monitoring Module (6 pages)
- WAVE Control: VMA Vac Voltage-Monitoring Module (9 pages)
- ITX+ - Universal signal isolator / amplifier (64 pages)
- PMX400TMP - Display instrument for control panel (39 pages)
- Portacal 1000 - Instrument Calibrator (41 pages)
- Portacal 275 - Signal source and loop calibrator (32 pages)
- PTX800D - Scalable pulse and frequency counter (22 pages)
- wavePak - Configurable singal isolator-converter (28 pages)
- PU-Overvoltage in Mains Control (4 pages)
- IE-MC-VL Series - Industrial Ethernet Media Converters (14 pages)
