Directory
Brands
General Machine Products manuals
Equipment
70524 Adams CD3 Continuous Duty Winch
Manual

General Machine Products 70524 Adams CD3 Continuous Duty Winch User Manual

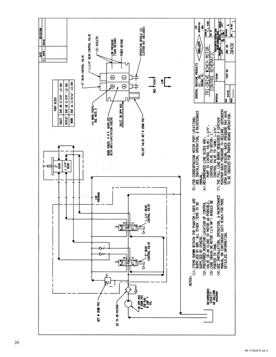
Page 20

  • Text mode
  • Original mode
General Machine Products 70524 Adams CD3 Continuous Duty Winch User Manual | Page 20 / 29 General Machine Products 70524 Adams CD3 Continuous Duty Winch User Manual | Page 20 / 29
Pages: 1 … 18 19 20 21 22 … 29
  • wrong Brand
  • wrong Model
  • non readable
See also other documents in the category General Machine Products Equipment:
  • 89910 Whisper Micro Fiber Cable Blowing Machine (32 pages)
  • 89010 Breeze Micro Fiber Cable Blowing Machine (43 pages)
  • 89300 AirStream Cable Blowing Machine (44 pages)
  • 89950 JetStream Cable Blowing Machine (8 pages)
  • 89000 Cable Blowing Machine(Current) (64 pages)
  • 89000 Cable Blowing Machine(Previous) (62 pages)
  • 34484 Hydraulic Power Pack (16 pages)
  • Tornado Hydraulic Power Pack Vertical Style (16 pages)
  • 89009 Compressor Aircooler (16 pages)
  • 89002 Micro Cable Fleeter (14 pages)
  • 89016 Trailer Mounted Cable Fleeter 1/2" x 10,000' (16 pages)
  • 70605 Trailer Mounted Fiber Optic Puller (24 pages)
  • 70483 Hydraulically Limited Cable Puller (12 pages)
  • 89004 Portable Powered Duct Rod Pusher (39 pages)
  • 32481 Power Pack (16 pages)
  • RD7000 Traceable Rod Detection (42 pages)
  • 10900 Longitudinal Duct Slitter (1 page)
  • 89760 Cable Pusher (16 pages)
  • 70640 Jamb Skids (4 pages)
  • CD-22 Adams Manual (12 pages)
  • CD-22 Adams Assembly instruction (1 page)
  • UG Level Wind (8 pages)
  • CH Level Wind for CD (8 pages)
  • 70601 Adams CD Lite Winch (29 pages)
  • 70530 Adams WG Winch (28 pages)
  • 70202 Universal Swivel Sheave 25000 lb (8 pages)
  • 74540 Braked Drum Stand (10 pages)
Home Brands Popular manuals Recently added
Manuals Directory

© 2012–2025, azmanual.top
All rights reserved.