Micro-flo – Xylem MICROFLO PADDLEWHEEL FLOWMETERS User Manual
Page 7

Page 7
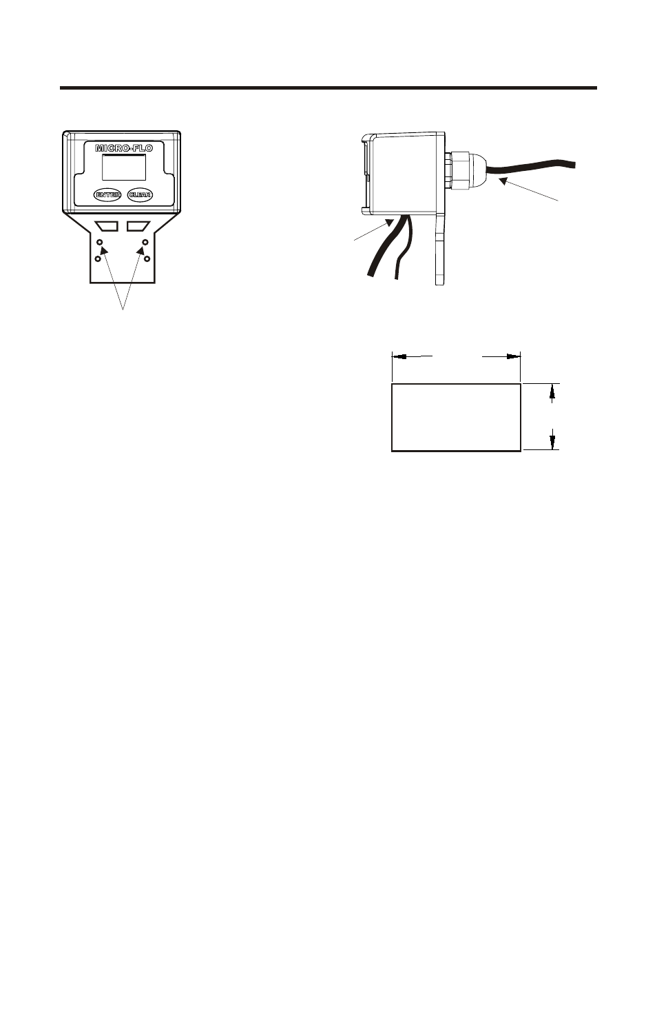
MICRO-FLO
Through panel wiring
for water resistant
applications
Wiring through enclosure
bottom for dry applications
Panel or wall
mounting screw
locations
1.00 in
[25 mm]
1.75 in
[45 mm]
Recommended panel or
wall mounting cut-out
for wire connection opening
5.4 Panel or wall mounting
6.0 Operation
6.1 Theory of operation
The Micro-Flo flowmeter is designed to measure the flow rate and accumu-
late the total volume of a fluid. The unit contains a paddle wheel that has six
(6) through holes to allow infrared light to pass through, a light-detecting
circuit and a LCD-display electronic circuit.
As fluid passes through the meter body, the paddle wheel spins. Each time
the wheel rotates a DC square wave is output from the sensor. There are six
(6) compete DC cycles induced for every revolution of the paddle wheel.
The frequency of this signal is proportional to the velocity of the fluid in the
conduit. The generated signal is then sent into the electronic circuit to be
processed.
The meter is factory programmed for the correct K-factor of the body
size included with the meter.
The Micro-flo flowmeter includes the following features:
! Displays either the flow rate or the accumulated total flow.
! Provides a pulse output signal that is proportional to the flow rate.
! Provides an open collector alarm output signal. Active low at flow rates
above the user programmed value.
! Provides user selectable, factory preset calibration k-factors.
! Provides a field calibration procedure for more precise measurement.
! Front panel programming can be disabled by a circuit board jumper pin.
