Connecting other av sources, Connections – Pioneer DVR-650H-S User Manual
Page 23

Connections
23
En
02
• Even if you make child lock settings (see
Preventing use of the recorder before a
timer recording (child lock)
on page 45),
this unit can still be controlled by the
remote of a connected plasma
television. If you do not want this unit to
be able to be controlled by another
component when you have set a child
lock, turn this unit’s
HDMI Control
to
OFF
(page 113).
• We cannot guarantee this unit will work
with HDMI control-compatible
components other than those made by
Pioneer.
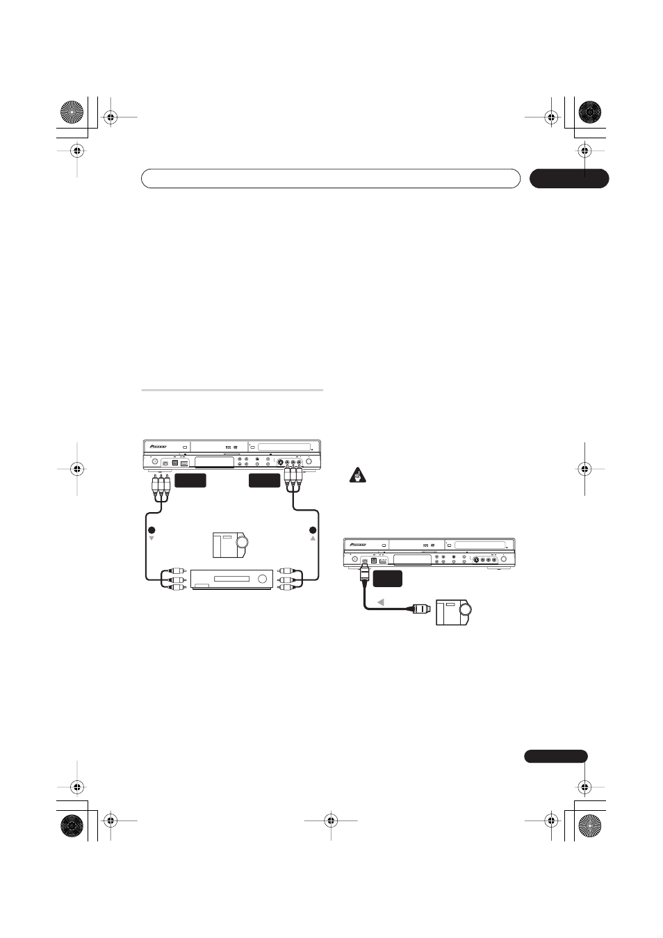
Connecting other AV sources
Connecting a VCR or analog
camcorder
1
Connect a set of audio and video
inputs of your VCR or camcorder to a set
of outputs on this recorder.
This enables you to record from this recorder
to your VCR or camcorder.
• You can use standard video or S-video
cables for the video connection.
2
Connect a set of audio and video
outputs of your VCR or camcorder to a
set of inputs on this recorder.
This enables you to record tapes from your
VCR or camcorder.
• You can use standard video or S-video
cables for the video connection.
• The front panel connections make
convenient connections for a camcorder
input.
• When connecting an external AV source
that only supports monaural sound, only
insert the left (white) audio jack to this
device. Doing so will allow the same
sound track to be recorded to both
channels. You must connect to the
INPUT 2
jack on the front panel.
Connecting a DV camcorder
You can connect a DV camcorder or DVD
recorder with DV output to the front panel
DV IN
jack.
Important
• This jack is for connection to DV
equipment only. It is not compatible with
digital satellite receivers or D-VHS video
decks.
•
Use a DV cable (not supplied) to
connect the DV jack of your DV
camcorder to the front panel DV IN
jack of this recorder.
Analog camcorder
HDD/DVD
DivX
COPY
HDMI
OPEN/CLOSE
STANDBY/ON
USB
DV IN
CH
INPUT
SELECT
STOP REC
ONE TOUCH
COPY
REC MODE
INPUT 2
VIDEO
S-VIDEO
L(MONO)
R
AUDIO
REC
VCR
(Rear panel)
AUDIO/VIDEO
OUTPUT
(Front panel)
AUDIO/VIDEO
INPUT
1
2
From audio/video output
To audio/video input
DV camcorder
HDD/DVD
DivX
COPY
HDMI
OPEN/CLOSE
STANDBY/ON
USB
DV IN
CH
INPUT
SELECT
STOP REC
ONE TOUCH
COPY
REC MODE
INPUT 2
VIDEO
S-VIDEO
L(MONO)
R
AUDIO
REC
From DV output
DV
IN
DVR650HS_TDR_EN.book 23 ページ 2007年4月9日 月曜日 午後12時10分