Upper wash and r, Upper wash and rinse parts, For models: kudc03ftss2 (stainless) – KITCHENAID KUDC03FTSS User Manual
Page 12

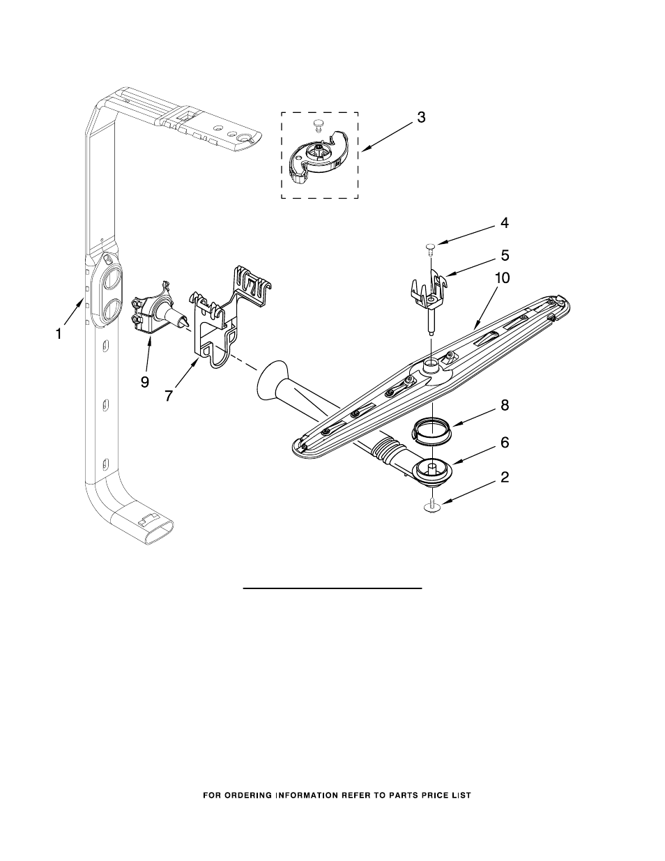
UPPER WASH AND RINSE PARTS
12
For Models: KUDC03FTSS2
(Stainless)
W10163052
Illus. Part
No. No. DESCRIPTION
1 W10077896 Feed Tube
Assembly
(Also Includes
Item 3)
2
8533889 Screw
3
8557720 Spinner, 3rd
Level
4 W10118464 Fastener, Push−In
5 W10082867 Mount
6 W10082833 Manifold
7 W10082832 Hanger
8
8268433 Seal, Sprayarm
9 W10077923 Nozzle−Feed
10 W10082841 Sprayarm