Directory
Brands
KITCHENAID manuals
Dishwashers
KUDC03FTSS
Manual

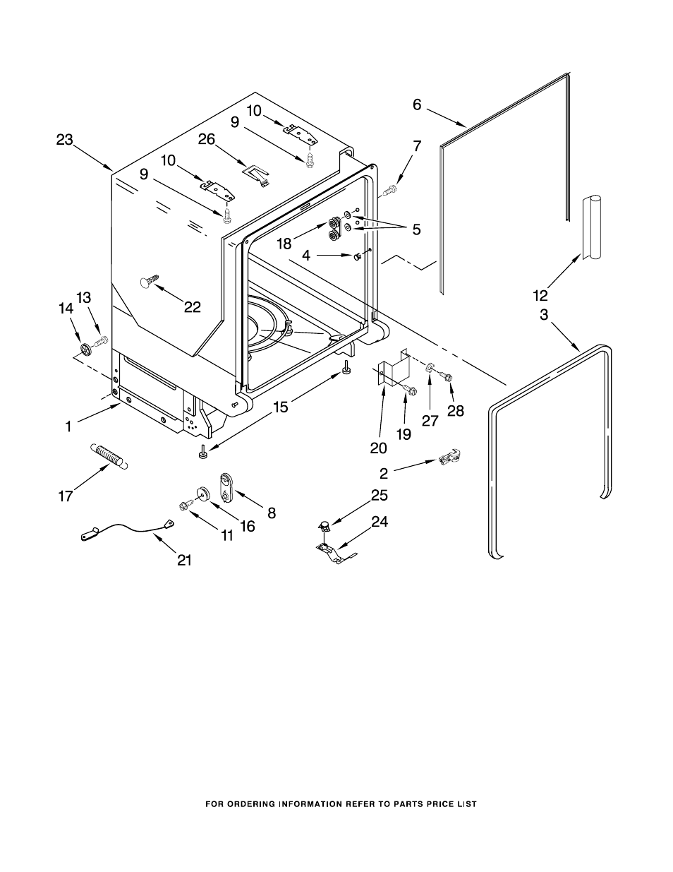
Tub and frame, Tub and frame parts – KITCHENAID KUDC03FTSS User Manual

Page 7

  • Text mode
  • Original mode
Tub and frame, Tub and frame parts | KITCHENAID KUDC03FTSS User Manual | Page 7 / 14 Tub and frame, Tub and frame parts | KITCHENAID KUDC03FTSS User Manual | Page 7 / 14
Pages: 1 … 5 6 7 8 9 … 14
  • wrong Brand
  • wrong Model
  • non readable
See also other documents in the category KITCHENAID Dishwashers:
  • KUDC02IR (1 page)
  • KUDC03ITBL1 (14 pages)
  • KUDI02FR (1 page)
  • KUDD03DTBL10 (8 pages)
  • KUDM01TJ (26 pages)
  • KUDD03DTPA10 (8 pages)
  • KUDC03ITBL3 (14 pages)
  • KUDD03DTBL0 (8 pages)
  • KUDE03FTBL1 (15 pages)
  • KUDD03STBL (44 pages)
  • W10244589 (14 pages)
  • KUDD03STSS0 (8 pages)
  • KIDS01EK (20 pages)
  • W10216167A (50 pages)
  • KUDE70FVSS1 (15 pages)
  • KUDC03ITBL0 (14 pages)
  • KUDI01FL (19 pages)
  • KUDE70FVSS0 (15 pages)
  • KUDE70CVSS1 (15 pages)
  • KUDE48FXWH0 (14 pages)
  • KUDI01DL (19 pages)
  • KUDD03STPA10 (8 pages)
  • KUDC03FTSS0 (14 pages)
  • W10118037B (52 pages)
Home Brands Popular manuals Recently added
Manuals Directory

© 2012–2025, azmanual.top
All rights reserved.