English – Sanyo VPC-FH1EX User Manual
Page 159

O
P
TI
ON SET
TING
S
English
138
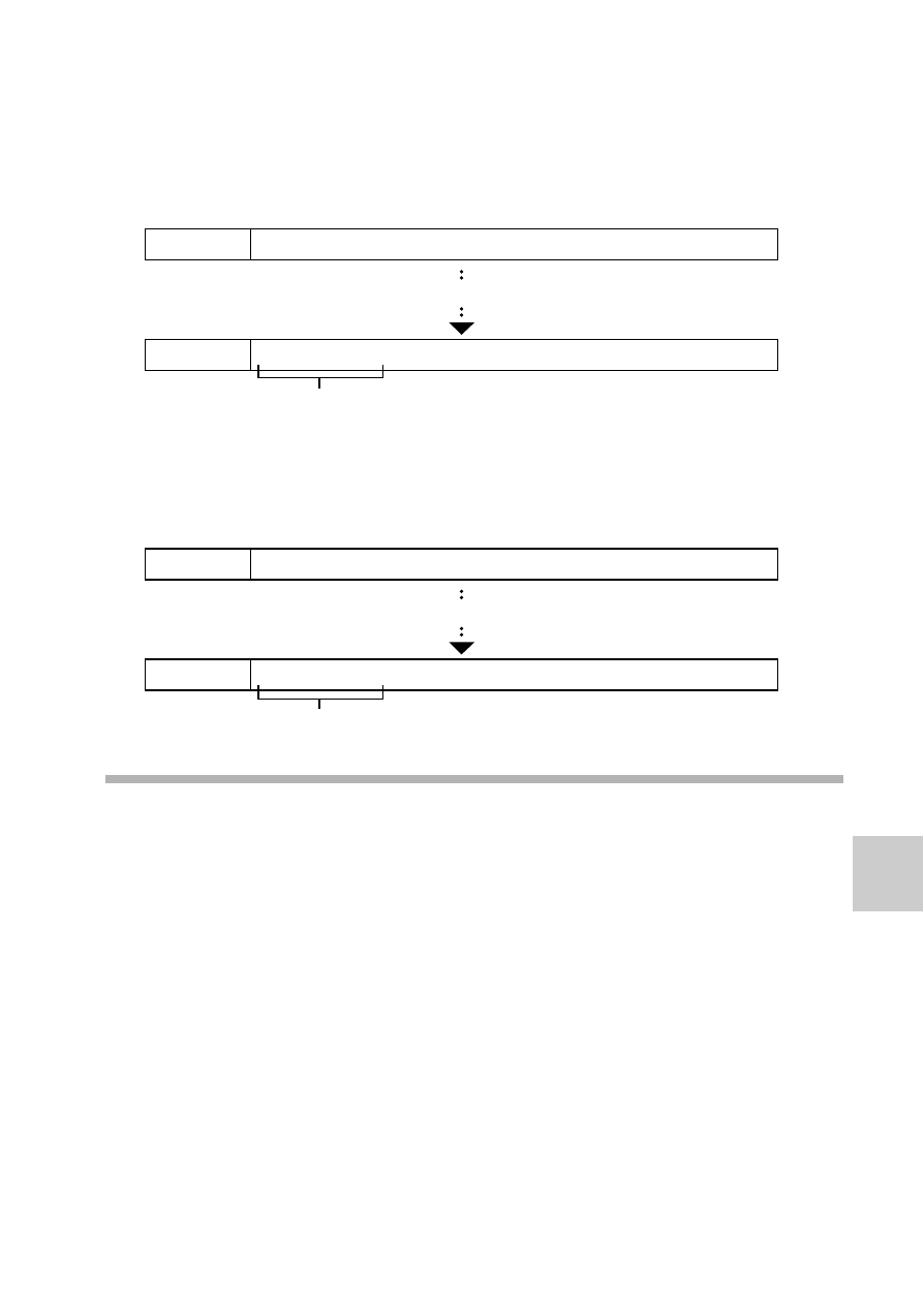
i If Card B already has files in it when it replaces Card A, file names are
assigned as follows.
When the highest file number on Card B (before replacing) is lower
than the highest file number on Card A: the file name of the next
recorded image continues from last file name recorded on Card A.
When the highest file number on Card B (before replacing) is higher
than the highest file number on Card A: the file name of the next
recorded image continues from last file name recorded on Card B.
HINT
i Until the file number continued function is turned “OFF”, consecutive file
names are assigned. It is recommended that the file number continued
function be returned to “OFF” at the end of each photography session.
Card A
0001, 0002 ..... 0012, 0013
Card B
0001, 0002, 0014, 0015 ..... 0025, 0026
Previously recorded files
Replace card
Card A
0001, 0002 ..... 0012, 0013
Card B
0020, 0021, 0022, 0023 ..... 0025, 0026
Previously recorded files
Replace card
