Brake and drive tube, Brake and drive tube parts – Maytag 3RLSQ8000JQ6 User Manual
Page 11

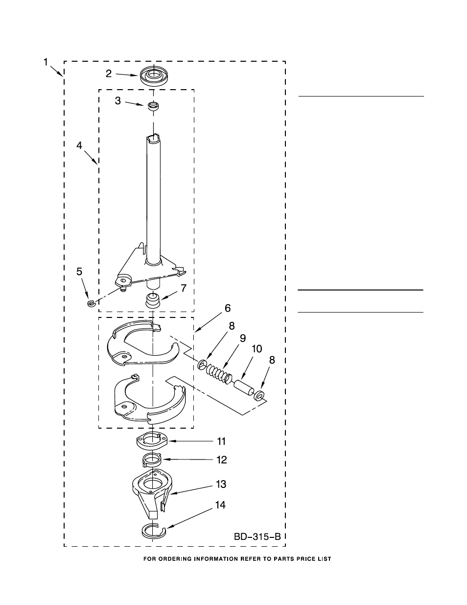
Illus. Part
No. No. DESCRIPTION
BRAKE AND DRIVE TUBE PARTS
1
388952
Brake And Drive
Tube (Complete)
2
62658
Ring, Thrust
3
356427
Seal, Drive Tube
4
64027
Tube, Basket
Drive (Includes
Illus. 3, 4, 5 & 9)
5
64035
Ring, Retaining
6
64232
Shoe, Brake (2)
7
62703
"T" Bearing,
Spin Tube
8
3353956
Cap, Brake
Spring (2)
9
387806
Spring, Brake
10
3355360
Sleeve, Brake
Spring
11
661516
Cam, Brake
Release
12
63022
Sleeve, Cam
13
64194
Driver, Brake
Cam
14
90368
Ring, Retaining
FOLLOWING PARTS
NOT ILLUSTRATED
285208
Lubricant
(Use Only In
Brake Shoe
Assembly On
Roller & Pin)
11
For Model: 3RLSQ8000JQ6
(Designer White)
8181167
See also other documents in the category Maytag Washers:
- MAL2424AXX (1 page)
- LAT2301AAE (36 pages)
- LAT2301AAE (32 pages)
- W10088776A (72 pages)
- 12001908 (3 pages)
- MDE/MDG21PDD (66 pages)
- MDW 15FTI (29 pages)
- MVP8600TU0 (2 pages)
- MAH5500B (16 pages)
- BRAVOSTM (84 pages)
- LAT9306EGE (11 pages)
- W10250564 (21 pages)
- MAH9700AW* (65 pages)
- W10117890A (20 pages)
- XHP1550VJ0 (1 page)
- MAV-3 (36 pages)
- LAT9714 (9 pages)
- MAV7257 (24 pages)
- MET3800TW0 (21 pages)
- MAV5960 (24 pages)
- MAF9601 (32 pages)
- MDE2400AYW (12 pages)
- MET3800TW1 (21 pages)
- MAF 1060 (17 pages)
- MD8416 (12 pages)
- MAH7500 (24 pages)
- FRONT-LOADINGAUTOMATICWASHER (72 pages)
- MAF 9801 (36 pages)
- W10270384 (10 pages)
- MAH55FLBWQ (52 pages)
- MAV7600 (8 pages)
- MAV-19 (24 pages)
- MAV-12 (24 pages)
- 201805 (3 pages)
- MAV5000 (11 pages)
- MAV-2 (48 pages)
- MAV-2 (10 pages)
- MD-31 (36 pages)
- SAV365ZAWW Installation (20 pages)
- MAV-5 (14 pages)
- MAV208DAWW (36 pages)
- MAV3905AWW (52 pages)
- MAV7450AWW (24 pages)
- MAT15MN (32 pages)
- MAH-24 (48 pages)