Directory
Brands
IAI America manuals
Tools
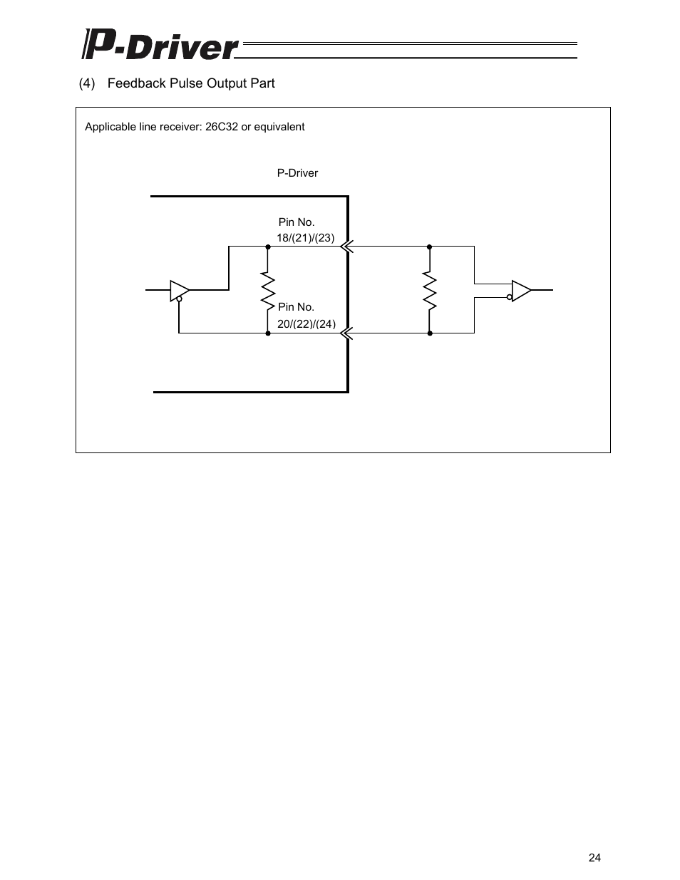
PDR-101-MW
Manual

IAI America PDR-101-MW User Manual

Page 34

  • Text mode
  • Original mode
IAI America PDR-101-MW User Manual | Page 34 / 108 IAI America PDR-101-MW User Manual | Page 34 / 108
Pages: 1 … 32 33 34 35 36 … 108
  • wrong Brand
  • wrong Model
  • non readable
See also other documents in the category IAI America Tools:
  • IA-101-X-MW (248 pages)
  • RCM-101-MW (264 pages)
  • CON-T (114 pages)
  • CON-PT (226 pages)
  • CON-PTA (250 pages)
  • IA-T-X (151 pages)
  • IA-T-X (150 pages)
  • IA-T-XA (ANSI standard CE mark agreement) (143 pages)
  • RCM-E (74 pages)
  • RCM-P (68 pages)
  • SEL-T (314 pages)
  • SEP-PT (176 pages)
Home Brands Popular manuals Recently added
Manuals Directory

© 2012–2025, azmanual.top
All rights reserved.