Instalación, Cableado, Precaución – Honeywell ENVIRAZONE PANEL W8835 User Manual
Page 20: Montaje

PANEL ENVIRAZONE W8835
68-0258ES—04
4
INSTALACIÓN
Montaje
PRECAUCIÓN
Peligro de daño en el equipo.
No coloque el W8835 dentro del equipo HVAC.
Colóquelo sólo sobre la pared o en la toma de retorno
de aire frío.
1. Coloque los termostatos en cada zona del hogar
siguiendo las instrucciones de instalación suministradas
con cada termostato.
2. Monte los humidificadores en la red de conductos utili-
zando las instrucciones de instalación suministradas con
cada humidificador.
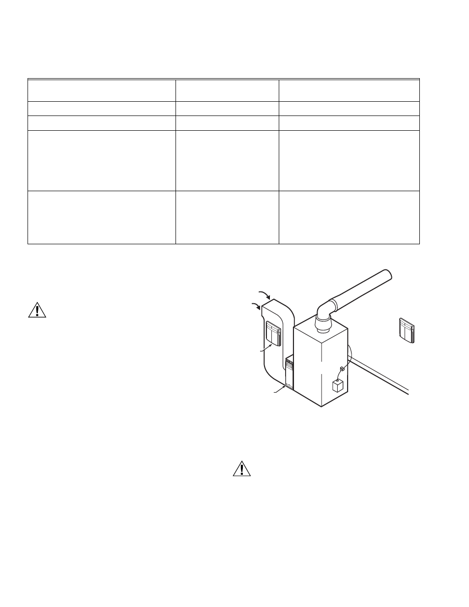
3. Monte el panel EnviraZone W8835 cerca del equipo
HVAC; colóquelo sobre una pared o en la toma de
retorno de aire frío. Vea la Fig. 2.
4. Nivele el W8835 sólo para presentarlo.
Fig. 2. Ubicación de montaje del W8835.
Cableado
PRECAUCIÓN
Peligro de alta tensión.
Puede ocasionar descargas eléctricas o dañar el
equipo.
Desconéctelo de la fuente de energía antes de
continuar la instalación.
El cableado debe cumplir con los códigos, las ordenanzas y
las reglamentaciones correspondientes.
Tabla 2. : Accesorios necesarios (no incluidos con el panel).
Accesorio
Descripción
Rango de desviación
(cfm)
Transformadores de 40 VA
AT140A1042
—
Protector de capacidad
C7835A1009
—
Humidificador circular con regulador de
presión estática
SPRD7
SPRD8
SPRD9
SPRD10
SPRD12
SPRD14
SPRD16
300
400
600
750
1200
1800
2400
Humidificador rectangular con regulador de
presión estática
SPRD12x8
SPRD12x10
SPRD12x12
SPRD20x8
SPRD20x10
SPRD20x12
1000
1200
1400
1600
2000
3000
MS31121
W8835
ELEC
TRO
NIC AIR
CLEANE
R
AIRE DE
RETORNO
W8835
CALDERA
MPIADOR DE AIRE