Search
Directory
Brands
HP manuals
Pumps
3885
Manual
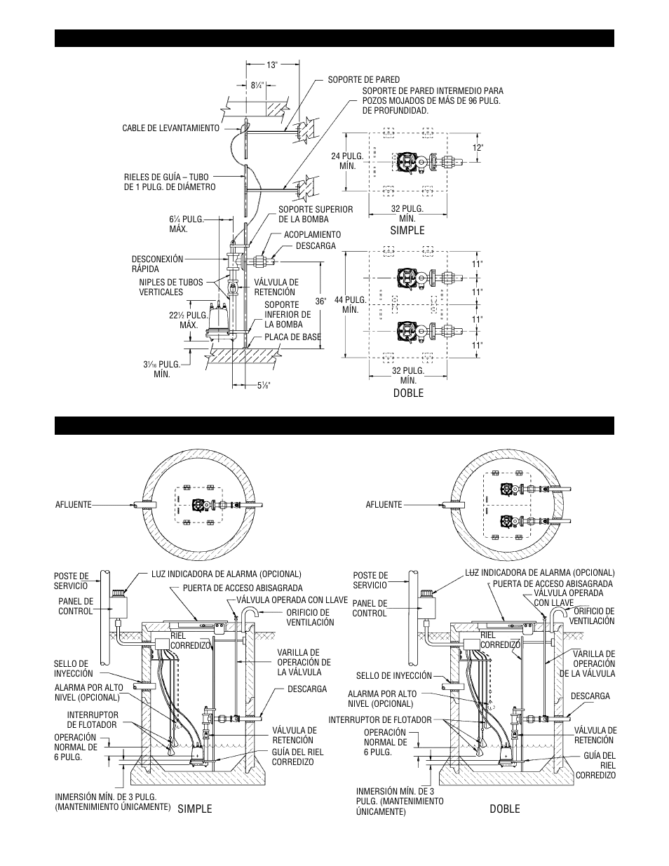
Instalación típica del riel corredizo de 2 pulg, Plomería e instalación típicas – HP 3885 User Manual
Page 23
Text mode
Original mode
Instalación típica del riel corredizo de 2 pulg, Plomería e instalación típicas | HP 3885 User Manual | Page 23 / 36
Pages:
1
…
21
22
23
24
25
…
36
wrong Brand
wrong Model
non readable
This manual is related to the following products:
3887
3886
IM059R02
See also other documents in the category HP Pumps:
2875
(2 pages)
Triplex Ceramic Plunger Pump LP350
(12 pages)
Shertech GCCV33V
(12 pages)
D-04
(20 pages)
5667-97
(4 pages)
Pressure Booster Pumps 0306
(14 pages)
H4H3
(16 pages)
020599
(12 pages)
8-UB-1
(32 pages)
N2H3
(16 pages)
4294-251
(2 pages)
FM Centrifugal Pump PCN=71576526
(32 pages)