Directory
Brands
Parr Instrument manuals
Measuring instruments
Series 5000
Manual

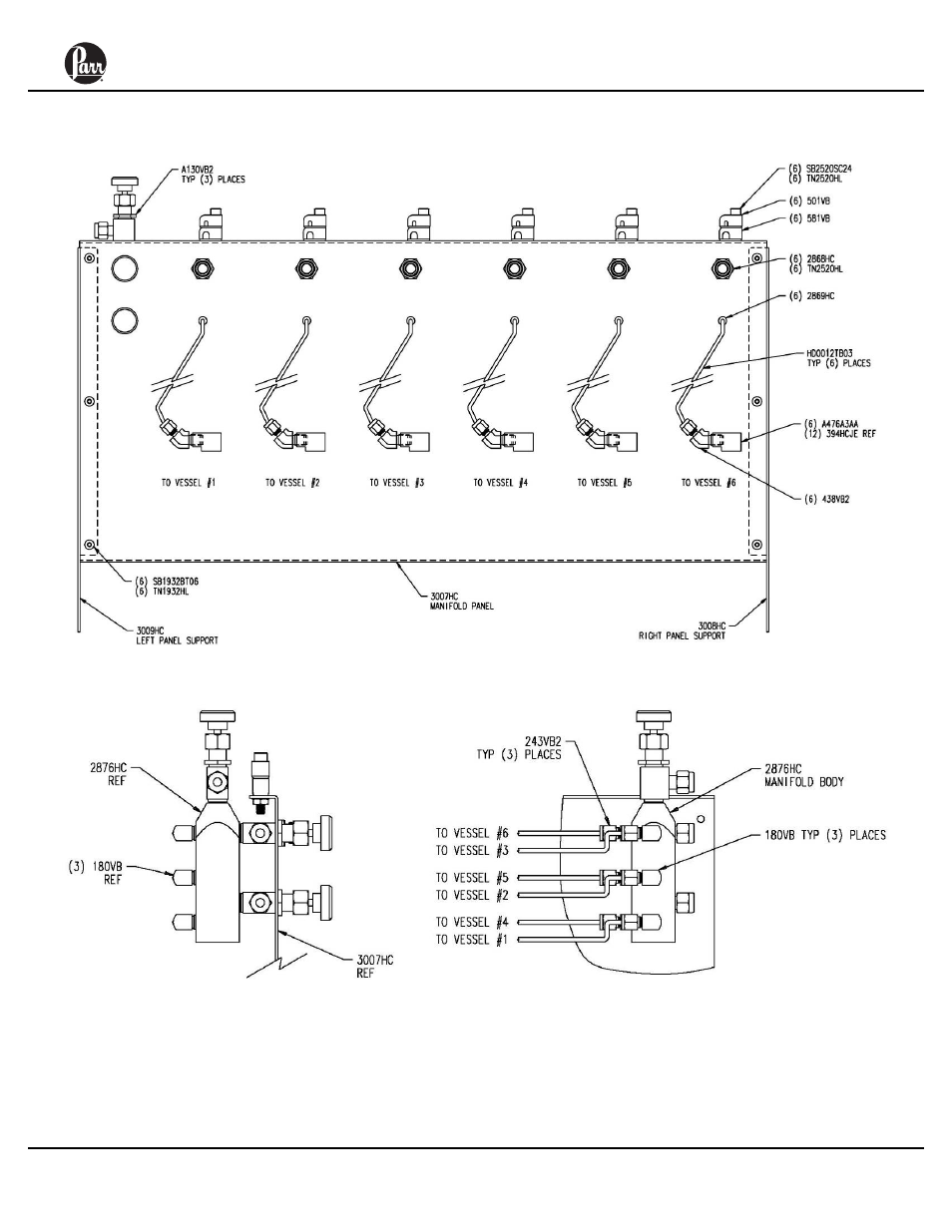
Diagrams (continued), Diagram 5: manifold panel for head mounted valves – Parr Instrument Series 5000 User Manual

Page 15

  • Text mode
  • Original mode
Diagrams (continued), Diagram 5: manifold panel for head mounted valves | Parr Instrument Series 5000 User Manual | Page 15 / 20 Diagrams (continued), Diagram 5: manifold panel for head mounted valves | Parr Instrument Series 5000 User Manual | Page 15 / 20
Pages: 1 … 13 14 15 16 17 … 20
  • wrong Brand
  • wrong Model
  • non readable
See also other documents in the category Parr Instrument Measuring instruments:
  • 1341 (16 pages)
  • 1108 (20 pages)
  • 1901 (2 pages)
  • 1104 (12 pages)
  • 1121 (4 pages)
  • 1755 (2 pages)
  • 1552 (1 page)
  • DP8340R Series (52 pages)
  • Attaching Platinum Fuse Wire (1 page)
  • 1281 (2 pages)
  • 1271 (2 pages)
  • Performa Therm Liquid Calorimetric Thermometers (2 pages)
  • 1108P (20 pages)
  • 1356 (41 pages)
  • 6300 (130 pages)
  • 6200 (94 pages)
  • 6200 (88 pages)
  • 6100 (82 pages)
  • 6510 (16 pages)
  • 1564 (12 pages)
  • 6400 (103 pages)
  • 6400 (110 pages)
  • 6772 (70 pages)
  • 6725 (76 pages)
  • 6755 (52 pages)
  • 6750 (36 pages)
  • 1108V (4 pages)
  • 1108R (20 pages)
  • Safety Rupture Disc Assemblies (8 pages)
  • Magnetic Drive (16 pages)
  • 44HC5 Metal Gaskets (1 page)
  • Flexible Graphite Gaskets (1 page)
  • Pressure Relief Valves (2 pages)
  • Series 5100 (32 pages)
  • Series 4520 (32 pages)
  • Series 4530 (28 pages)
  • Series 4540 (32 pages)
  • Series 4550 (28 pages)
  • Series 4560 (28 pages)
  • Series 4570 (28 pages)
  • Series 4580 (28 pages)
  • Series 4590 (28 pages)
  • Series 4555 (48 pages)
  • 4575/76 HP/HT (24 pages)
Home Brands Popular manuals Recently added
Manuals Directory

© 2012–2025, azmanual.top
All rights reserved.