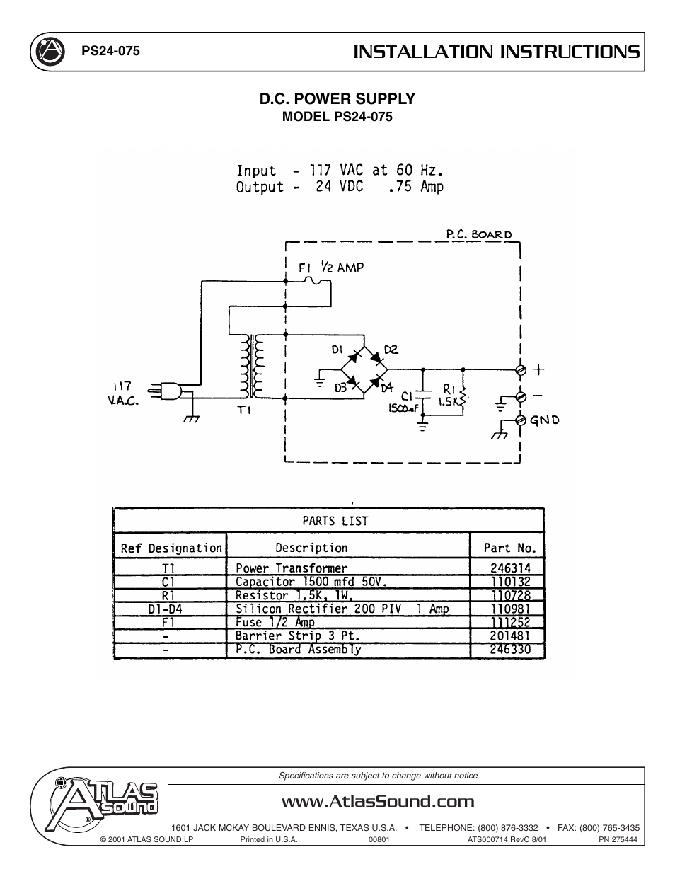
Atlas Sound PS24-075 User Manual
Installation instructions, D.c. power supply
                                            Atlas Sound PS24-075 User Manual | 1 page                                                                                                    Table of contents                                            
                