Stitch width reguiator, Zigzag stitch width controi, Stitch width regulator – SINGER 112 User Manual
Page 23: Zigzag stitch width control
Attention! The text in this document has been recognized automatically. To view the original document, you can use the "Original mode".

Zigzag Sewing Machine
Instruction Manual and Parts List
3.18. Stitch Width Reguiator
The width of zigzag stitch is controlled with the spring
biased stitch width regulating lever ‘1', Figure 24.
Maximum zigzag width:
20U-109 / 109C / 309: 9.0 mm
20U-112/112C: 12.0 mm
Do not make any needle position adjustment while
the needle is in the fabric.
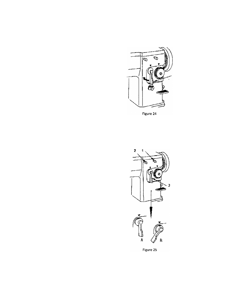
3.19. Zigzag Stitch Width Controi
To obtain minimum to'maximum width (20U-109,
109C, 309: 9mm or 20U-112,112C: 12mm) zigzag
stitches, first loosen thumb screw '2' to permit the
stitch width regulator '3' to return to its zero position
'A' and retighten thumb screw '2', according to Figure
25.
Then loosen thumb screw 'V, Figure 25, turn stitch
width regulator '3' clockwise as far as it will go and
while holding the regulator '3' in this position (see 'B',
Figure25), retighten thumb screw '1'.
You can now regulate the stitch width regulator
within the range of zero to maximum.
- 22-