SINGER 7469Q CONFIDENCE QUILTER User Manual
Page 32

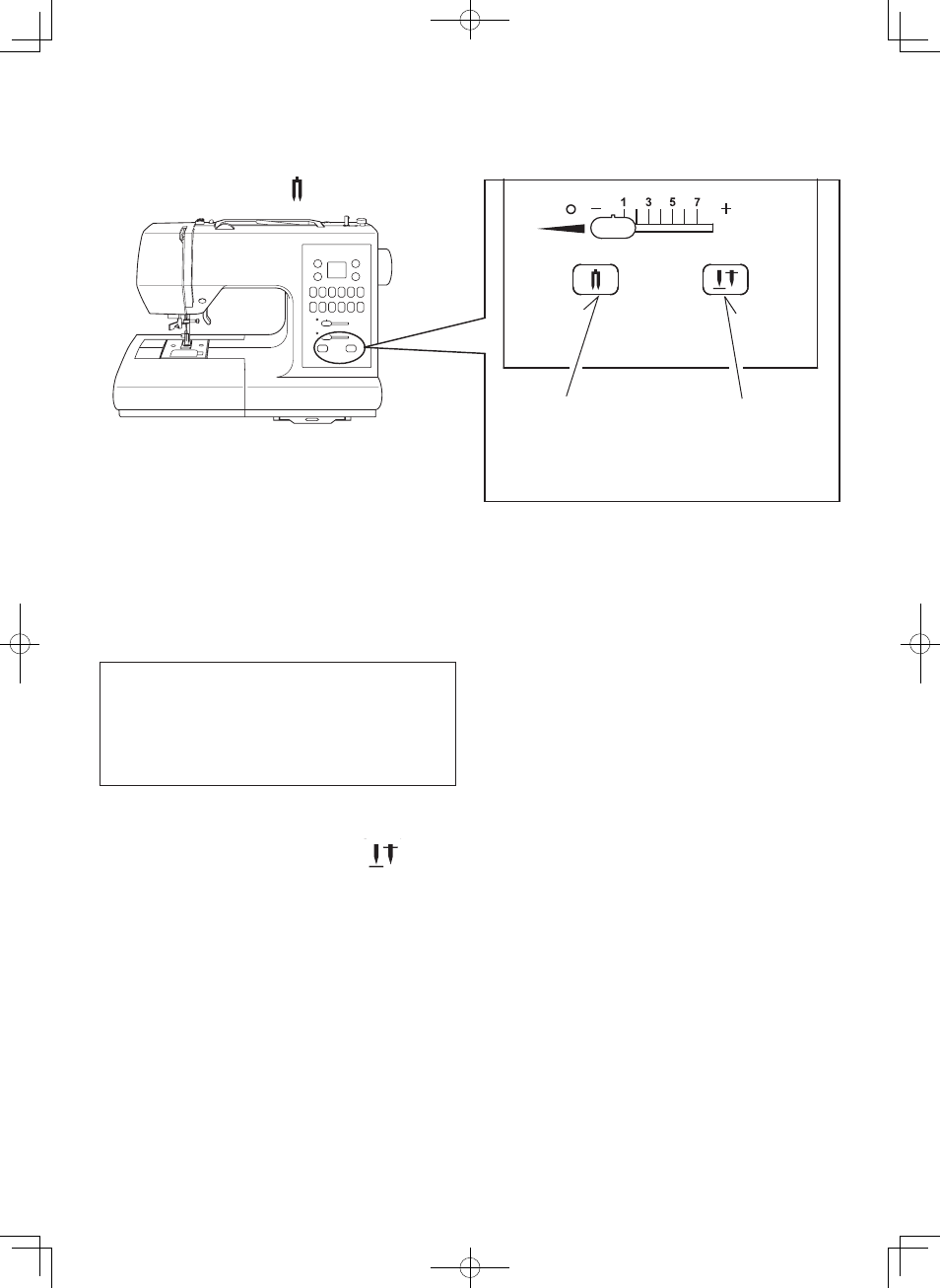
3
Twin needle mode switch ( )
When using twin needles, push the twin needle mode switch
regardless of the stitch you selected. Doing so will reduce
the stitch width automatically and save broken needles and
possible damage to your machine.
While the switch is pushed and lit red, patterns with circled
numbers in the pattern reference guide are skipped and
cannot be selected with the numerical selection buttons, and
a beep will sound when selecting buttonhole pattern with the
direct selection button.
Helpful Hints:
. A l w a y s s e l e c t t h e Tw i n N e e d l e M o d e p r i o r
to selecting a pattern. This will preclude any
possibility of the twin needle breaking.
. Turning off the machine returns the machine to
normal sewing mode. Twin Needle is only active
when the Twin Needle Switch is lit red.
Commutateur de mode
d’aiguilles
Interruptor de modo de
aguja doble
Twin needle mode switch
Needle stop position selector
switch
Interruptor de posicion de
aguja parada
Touche de position d’arrêt
d’aiguille
Needle stop position selector switch ( )
Push the switch and LED lamp will be lit red and needle will
stop at down position whenever you stop sewing.
Push it again to stop needle at up position.