Multiquip EM120S User Manual
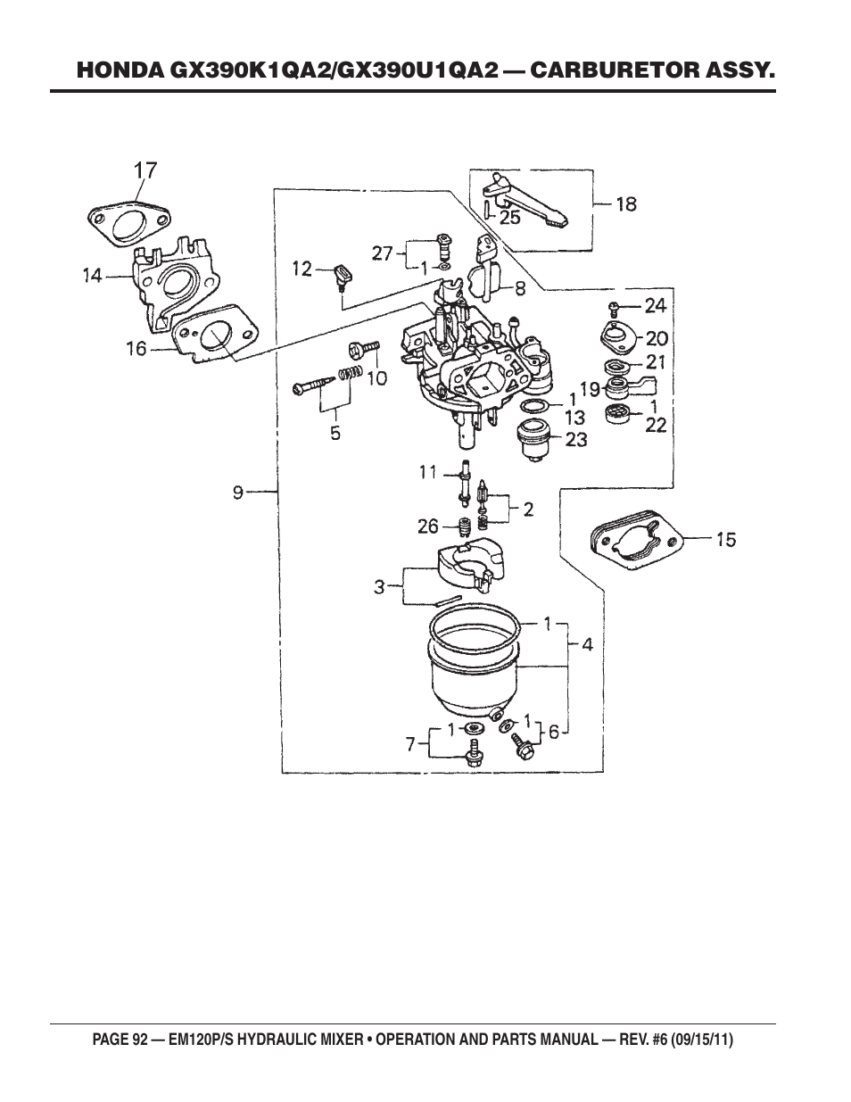
Page 92
This manual is related to the following products:
See also other documents in the category Multiquip Mixers:
- WM120PM Series (50 pages)
- WM90S (40 pages)
- EM900S (32 pages)
- WM45H (46 pages)
- WM45HCE_rev_0 (40 pages)
- MS15H5.5 (84 pages)
- MS45H5.5 (84 pages)
- MC3SE (42 pages)
- MC3H (72 pages)
- MC3PEA (46 pages)
- WM120PH Series (108 pages)
- WM120PM Series (50 pages)
- WM63e (60 pages)
- WM70S (40 pages)
- WM70S (100 pages)
- WM700S (28 pages)
- WM70SH5C (54 pages)
- WM90S (66 pages)
- WM900S (30 pages)
- EM120PM (48 pages)
- EM120SM (42 pages)
- EM70S (40 pages)
- EM70S (100 pages)
- EM700S (30 pages)
- EM90S (40 pages)
- EM90S (66 pages)
- EM900SDCE (44 pages)
- PRO12 (38 pages)
- MS70 (94 pages)
- MS120H13 (92 pages)
- MS18H5.5 (122 pages)
- MS20H (88 pages)
- MS30H (88 pages)
- MS40H (48 pages)
- MS40M (46 pages)
- MC42S (84 pages)
- MC44S (84 pages)
- MC62S (120 pages)
- MC64S (116 pages)
- MC92S_P (86 pages)
- MC94S_P (84 pages)
- WC42S (84 pages)
- WC62S_P (120 pages)
- WC92S_P (86 pages)
