Andere anschlüsse, Andere anschlüsse 05, Kapitel 5 – Pioneer F-F3-J User Manual
Page 64: Anschluss externer antennen

Andere Anschlüsse
05
20
Ge
Kapitel 5:
Andere Anschlüsse
Vorsicht
• Stellen Sie sicher, dass der Strom ausgestellt ist, bevor sie die Anschlüsse herstellen oder
wechseln.
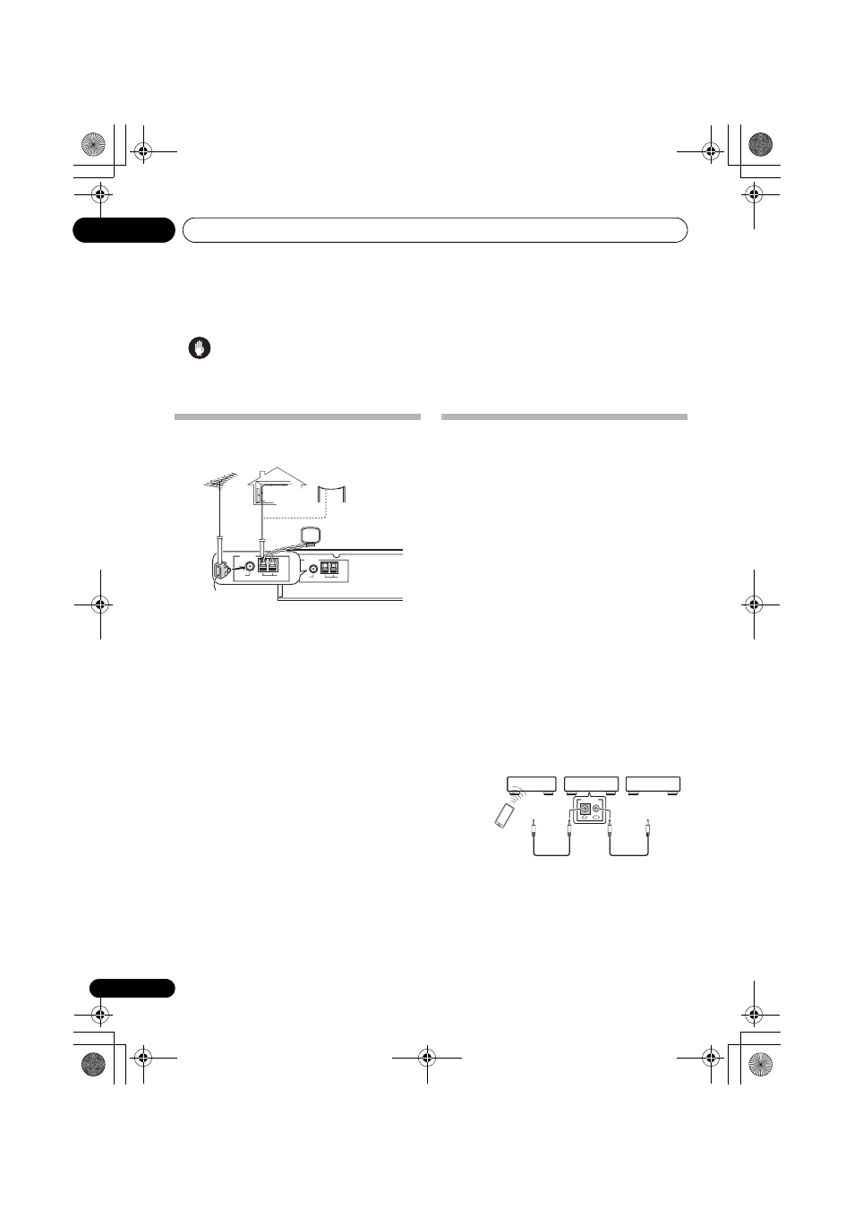
Anschluss externer Antennen
• Für eine externe MW-Antenne verwenden
Sie 5 m bis 6 m vinylummantelten Draht
und bringen Sie diesen innen oder außen
an. Lassen Sie die Ringantenne
angeschlossen. Verwenden Sie nur die
beiliegende MW-Rahmenantenne.
• Für den Anschluss einer externen
UKW-Antenne benutzen Sie einen
PAL-Anschluss.
Betreiben des Tuners mit dem
Fernbedienungssensor ihres
Pioneer Verstärkers
Viele Pioneerkomponenten haben SR
CONTROL -Buchsen, die zur Verbindung der
Komponenten benutzt werden können, so dass
Sie den Fernbedienungssensor nur einer
Komponente nutzen können. Bei Verwendung
einer Fernbedienung wird das Steuersignal
durch die Anschlußkette an die entsprechende
Komponente weitergeleitet.
Sollten Sie diese Funktion wählen, beachten
Sie, dass Sie zu Erdungszwecken auch
mindestens einen Satz analoge Audiobuchsen
an eine andere Komponente anschließen
müssen.
1
Verbinden Sie die CONTROL IN Buchse
dieses Tuners mit der CONTROL OUT Buchse
Ihres Pioneer Verstärkers.
Benutzen Sie ein Kabel mit Monoministecker
an beiden Enden für die Verbindung.
2
Dieser Prozess kann genutzt werden, um
eine Daisy-Kettenverbindung mit anderen
Pioneer-Komponenten herzustellen.
ANTENNA
FM
UNBAL 75
Ω
AM
LOOP
ANTENNA
FM
UNBAL 75
Ω
AM
LOOP
Außenantenne
UKW Aussenantenne
MW Aussenantenne
Rahmenantenne
PAL-Anschluss
(5 m bis 6 m)
Innenantenne
(Drähte vinylüberzogen)
DIM
MER
OPE
N/CL
OSE
PUR
E A
UD
IO
CONTROL
OUT
IN
Dieser Tuner
CD-spieler, etc.
Pioneer
Komponenten
Fernbedienung
Zum Kontroll
Ausgang
Zum Kontroll
Eingang
Verstärker
01_F-F3_Ge.book Page 20 Tuesday, September 4, 2007 5:28 PM