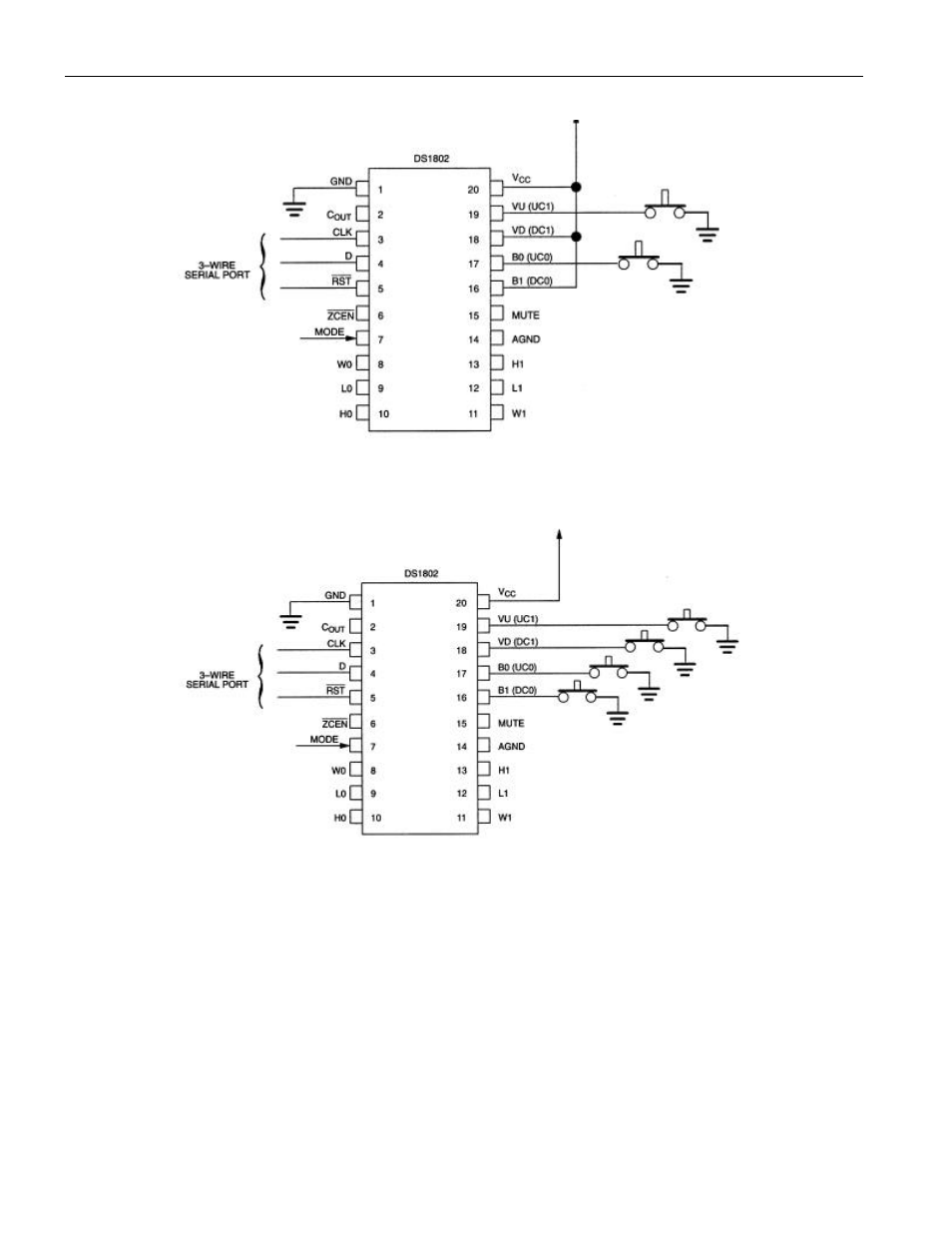
Single pushbutton configuration figure 2(a), Dual pushbutton configuration figure 2(b) – Rainbow Electronics DS1802 User Manual
Page 5
                    See also other documents in the category Rainbow Electronics Computer hardware:                                                            
                    - MAX6869 (17 pages)
 - TNY-A9260-C01 (5 pages)
 - MAX34441 (53 pages)
 - MAX4912 (13 pages)
 - QIL-A9260-C11 (20 pages)
 - QIL-A9260-C11 (1 page)
 - QIL-A9260-C11 (34 pages)
 - USB-A9263-C02 (1 page)
 - DAB-GPS-C01 (15 pages)
 - DAB-GPS-C01 (28 pages)
 - DAB-CAM-C01 (27 pages)
 - DAB-WLS-C01 (WiFi) (20 pages)
 - USB-A9G20-C01 (1 page)
 - MAX34440 (43 pages)
 - SBC35-A9260-C12 (28 pages)
 - SBC35-A9260-C12 (1 page)
 - MAX16024 (17 pages)
 - USB-A9G20-C11 (5 pages)
 - DAB-IMU-C01 (20 pages)
 - MAX16021 (21 pages)
 - DAB-WLS-C11 (BlueTooth) (2 pages)
 - SBC35-A9G20-C11 (24 pages)
 - MAX16054 (9 pages)
 - MAX14525 (7 pages)
 - MAX16066 (61 pages)
 - USB-A9260-C12 (1 page)
 - DS1803 (11 pages)
 - DS12887A (2 pages)
 - DS1339 (18 pages)
 - DS1858 (22 pages)
 - DS1267 (12 pages)
 - DS12С887A (2 pages)
 - DS1804 (7 pages)
 - DS1091L (6 pages)
 - DS1669S (10 pages)
 - DS1867 (14 pages)
 - DS1087L (12 pages)
 - DS4026 (13 pages)
 - DS1286 (13 pages)
 - DS1801 (10 pages)
 - DS1254 (17 pages)
 - DS17887 (38 pages)
 - DS1691 (4 pages)
 - DS1615 (24 pages)
 - DS1868 (14 pages)
 
