Connections & setup, How to connect: tv + vcr + dvd player, Go to page 16 – RCA HD52W55 User Manual
Page 14: 12 chapter 1, Viewing the components, Vcr dvd tv, Jacks on the back of the tv and to the y p, Menu ch ch vo l — vol + pow er

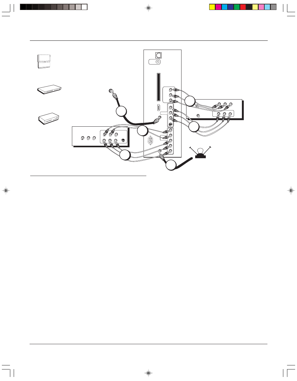
Connections & Setup
12
Chapter 1
How to Connect: TV + VCR + DVD Player
1.
Connect your cable and/or off-air antenna.
If you have cable and an off-air antenna, connect the cable signal to CABLE INPUT. Connect the off-air antenna to
ANTENNA INPUT.
2.
Connect your DVD Player to your TV.
A. Connect the audio (white and red) cables to the INPUT 2 R and L Audio jacks on the back of the TV and to the Audio
Output jacks on the DVD player.
B. Connect three video grade cables to the INPUT 2 Y/VIDEO P
B
P
R
jacks on the back of the TV and to the Y P
B
P
R
outputs on the DVD player. If your DVD player doesn’t have Y P
B
P
R,
, use the INPUT 2 Y/VIDEO jack instead.
Notes:
If you are using component video cables, you must also connect audio cables. The component video cables only
transfer video information.
If your DVD player has a component video output, we recommend you use the component video input on the TV instead of
the composite video connection.
3.
Connect your VCR to your TV.
A. Connect the VCR’s audio/video outputs to INPUT 1 (R and L-Audio, and V-Video) on the TV using composite audio/video
cables.
B. Connect the VCR’s audio/video inputs to the AUDIO/VIDEO OUTPUT jacks on the TV. This enables recording of
digital and analog programs (except copy protected or component video formats).
Viewing the Components
1.
Turn on the TV and the component(s) you want to view.
2.
Press the TV button on the remote control.
3.
Press the INPUT button on the remote control to scroll through the Video Input Channels.
• View the VCR on the INPUT 1 channel.
• View the DVD player on the INPUT 2 channel.
Note:
You can set up the TV to automatically tune to the correct Video Input Channel. This is called Auto Tuning.
(See Chapter 3 for more information.)
Go to page 16
VCR
DVD
TV
CABLE
ANTENNA IN
VIDEO
AUDIO L
R
ANTENNA OUT
IN
OUT
VCR
VIDEO
AUDIO L
R
INPUT 1
L
R
S-VIDEO
V
CABLE
INPUT
ETHERNET
TV
DIGITAL
AUDIO
OUTPUT
AUDIO/
VIDEO
OUTPUT
V
R
L
CableCARD™
COMPOSITE
INPUT
INPUT 2
ANTENNA
INPUT
COMPONENT/
COMPOSITE
INPUTS
Use menu for
composite
video.
L
R
P
R
P
B
Y/VIDEO
HDMI/DVI
INPUT
Use menu for
DVI audio.
POWER
(AC 120V~60Hz)
IN
DVD
VIDEO
AUDIO
L
R
PR
PB
Y
S-VIDEO
L/
L/
L/
VIDEO
AUDIO
L
R
OUT
OFF-AIR ANTENNA
2B
1
2A
3A
3B
MENU
CH
CH
VO
L —
VOL
+
POW
ER
1
16339320.01 Connections
5/27/04, 4:03 PM
12
