Execution – Pioneer Industrial DVD Player DVD-V7400 User Manual
Page 20

Command Structure
Example:
RxD
P
L
T1
T2
Execution
TxD
R
4.8
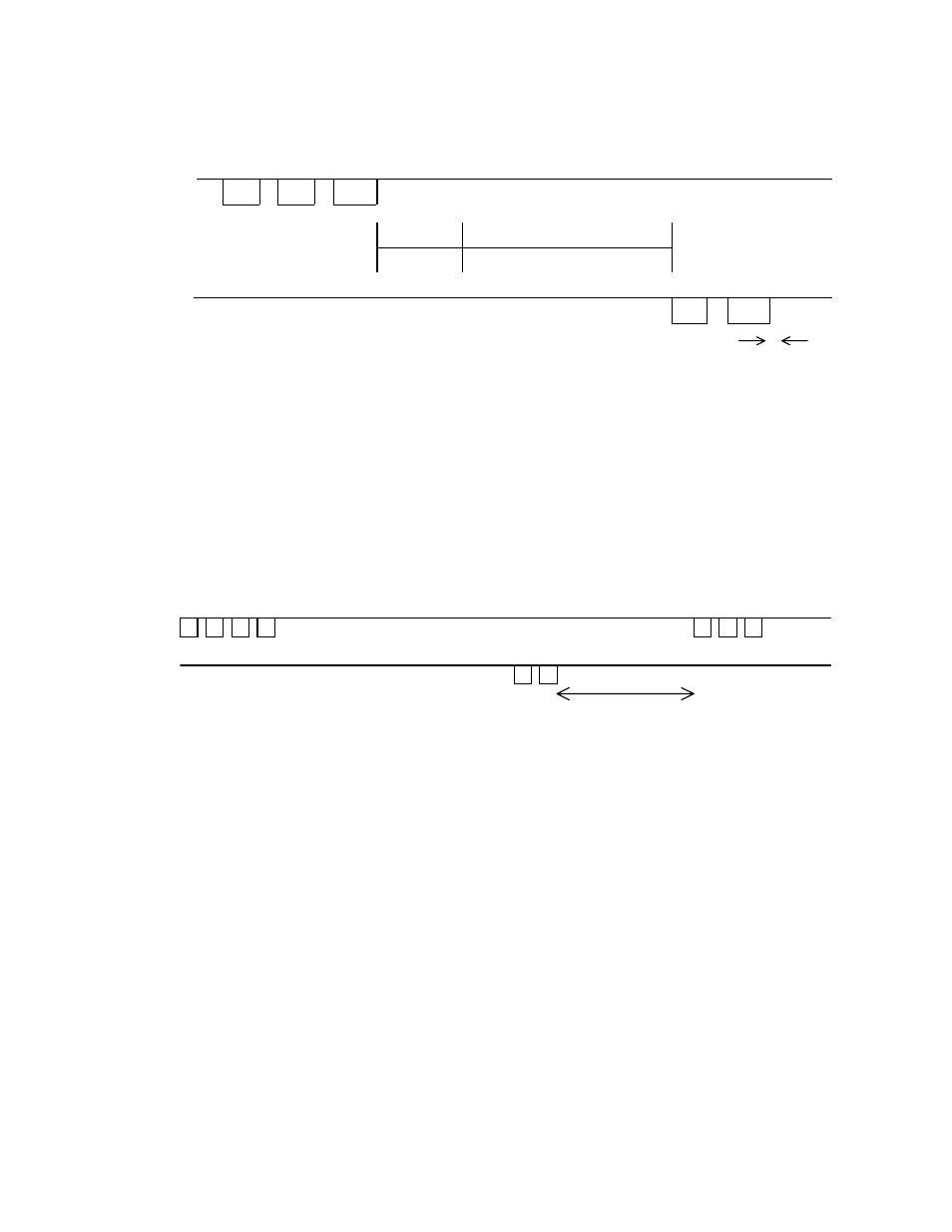
Start Timing Under Synchronized Playback (with several players)
To synchronize each playback to External Reference Sync Signal among several
players, issue the PL command after all players have finished the Search. The
next chart indicates the when to issue the PL command.
SE
R
PL
> 300 msec
T3
When the player executes a Search (SE command) and it returns a completion
message, there is a brief period when the player ignores a PL command. Issue a
PL command at least 300ms after the command completion.
After issuing a PL command, there may be a brief period before synchronized
playback starts. If all players receive a PL command after a Search but before
the PLAY command is issued (see following example), then playback is
synchronized after a pause of approximately three fields which is less than one
Frame in length.
When the player receives a PL command during the Unspecified Area (see
below), the playback might start at the first field, just after the first field, or it might
start after waiting for one Frame (four fields). Thus, this playback location is
called an Unspecified Area.
- 13