Caution – GMC 2006 Sierra User Manual
Page 514

8. Install the spare tire.
{
CAUTION:
Never use oil or grease on studs or nuts.
If you do, the nuts might come loose.
Your wheel could fall off, causing a serious
accident.
9. Put the wheel nuts back on with the rounded end of
the nuts toward the wheel.
10. Tighten each wheel nut by hand. Then use the
wheel wrench to tighten the nuts until the wheel
is held against the hub.
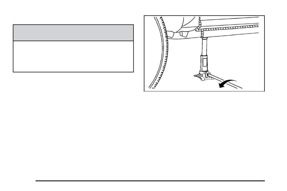
Front Position - All Models
5-102
See also other documents in the category GMC Cars:
- OUTLOOK (80 pages)
- 2006 Savana (394 pages)
- 2012 Sierra (556 pages)
- 2012 Savana (424 pages)
- 2012 Canyon (386 pages)
- 2012 Acadia (456 pages)
- 2011 Sierra (594 pages)
- 2011 Savana (410 pages)
- 2011 Canyon (406 pages)
- 2011 Acadia (478 pages)
- 2010 Sierra (658 pages)
- 2009 Sierra (478 pages)
- 2009 Savana (406 pages)
- 2009 Acadia (516 pages)
- 2008 Envoy (468 pages)
- 2008 Canyon (428 pages)
- 2008 Acadia (472 pages)
- 2007 Sierra (674 pages)
- 2007 Savana (452 pages)
- 2007 Envoy (562 pages)
- 2007 Canyon (492 pages)
- 2007 Acadia (554 pages)
- 2006 Canyon (434 pages)
- 2005 Savana (384 pages)
- 2005 Canyon (420 pages)
- 2004 Sierra (588 pages)
- 2004 Savana (398 pages)
- 2004 Canyon (420 pages)
- 2003 Envoy (458 pages)
- 2003 Sierra (556 pages)
- 2003 Savana (400 pages)
- 2002 Sierra (499 pages)
- 2002 Savana (411 pages)
- 2002 Envoy (422 pages)
- 2001 Sierra (468 pages)
- 2001 Savana (412 pages)
- 2001 Envoy (448 pages)
- 2000 Sierra (421 pages)
- 2000 Savana (398 pages)
