Peligro, Avertissement, English / a-5 – Kent Xtra User Manual
Page 7

ENGLISH / A-5
FORM NO. 56041626 - Xtrac - A-5
120VAC INTRUCCIONES PARA HACER LA TOMA A TIERRA
Este aparato deberá ser conectado a tierra. En caso de malfuncionamiento o de desperfectos, la toma a tierra proporciona una vía de menor
resistencia de la corriente eléctrica para reducir el riesgo de choques eléctricos. Esta unidad viene equipada con un cordón con conductores para
toma a tierra y con un enchufe con toma a tierra. Ese enchufe deberá ser enchufado a un receptáculo en buen estado con instalación a tierra según
los códigos y ordenanzas de la zona.
¡PELIGRO
!
Si el conductor a tierra no está instalado correctamente pueden producirse riegos de choques eléctricos. En caso de duda, consulte con
un electricista o personal de servicio autorizados. No modifi que el cordón provisto con el aparato. Si no calza en el receptáculo, llame
a un electricista califi cado para que coloque un receptáculo adecuado.
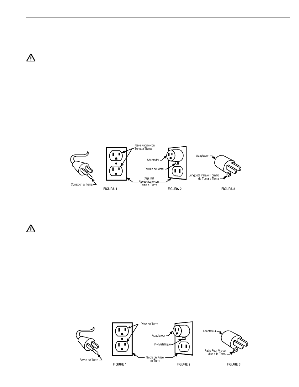
Este aparato se usa con un circuito de 120-voltios nominales, y tiene un enchufe con toma a tierra tal como se muestra en la fi gura 1, a continuación.
Se puede usar un adaptador provisorio tal como se ve en las fi guras 2 y 3 en caso de disponerse de un receptáculo sin toma a tierra como en la fi gura
2. Dicho adaptador provisorio se usará solamente hasta que un electricista califi cado instale un receptáculo con la toma a tierra correspondondiente
(fi gura 1). La lengüeta de conexión de color verde que sale del adaptador deberá ser conectada a una toma a tierra permanente como, por ejemplo,
la caja del receptáculo con toma a tierra. Siempre que se use el adaptador, hay que sostenerlo en su lugar con un tornillo de metal.
Sustituya el enchufe si la patilla de tierra está dañada o rota.
El hilo verde (o verde/amarillo) del cordón es el hilo de tierra. Cuando sustituya el enchufe, este hilo sólo debe ir conectado a la patilla de tierra.
Los cables alargadores conectados a esta máquina deben ser del calibre 12, trifi lares, con tres patillas y tomas de pared adecuadas. NO UTILICE
cables alargadores de más de 15 m.
ATENCIÓN : PARA AMÉRICA DE NORTE SOLAMENTE.
INSTRUCTIONS VISANT LA MISE À LA TERRE (120VAC)
Cet appareil doit être mis à la terre. En cas de défaillance ou de panne éventuelles, la mise a la terre fournit au courant un chemin de moindre résistance
qui réduit le risque de choc électrique. Cet appareil est pourvu d’un cordon muni d’un conducteur de terre et d’une fi che avec broche de terre. La fi che
doit être branchée dans une prise appropriee correctement installée et mise à la terre conformément aux règlements et ordonnances municipaux.
AVERTISSEMENT
!
Un conducteur de terre mal raccordé peut entraîner un risque de choc électrique. Consulter un électricien ou un technicien d’entretien
qualifi é si vous n’êtes pas certain que la prise est correctement mise à la terre. Ne pas modifi er la fi che fournie avec l’appareil - si elle ne
peut être insérée dans la prise, faire installer une prise adéquate par un électricien qualifi é.
Cet appareil est destiné à un circuit de 120 V et est muni d’une fi che de terre semblable à celle illustrée par le croquis 1. Un adaptateur temporaire
semblable à celui illustré par le croquis 2 et C peut être utilisé pour brancher cette fi che à une prise bipolaire comme l’illustre le croquis 2 si une prise
avec mise à la terre n’est pas disponible. L’adaptateur temporaire devrait etre utilisé seulement jusqu’à ce qu’une prise avec mise à la terre soit installée
par un électricien qualifi é. L’oreille rigide ou le crochet ou autre dispositif semblable, de couleur verte, prolongeant l’adaptateur doit Iêtre raccordé à un
élément correctement mis à la terre comme le couvercle d’une boîte de sortie mise à la terre. L’adaptateur doit être fi xé par une vis métallique. Note:
Au Canada, I’utilisation d’un adaptateur temporaire n’est pas autorisée par le Code canadien de l’électricité.
Remplacez la prise si la prise de terre est abîmée ou cassée.
Le fi l Vert (ou Vert/Jaune) dans la ganse est le fi l de terre. Lors du remplacement d´une prise, ce fi l doit être raccordé à la prise de terre uniquement.
Les ralonges connectées à cette machine doivent avoir 12 mesures, trois ganses de fi l ayant trois fi ches masculines féminines tree-prong plugs and outlets.
N´UTILISEZ PAS de ralonge de plus de 15 m (50 pieds) de long.
VEUILLEZ NOTER: CES INSTRUCTIONS CONCERNENT UNIQUEMENT L’AMÉRIQUE DU NORD
