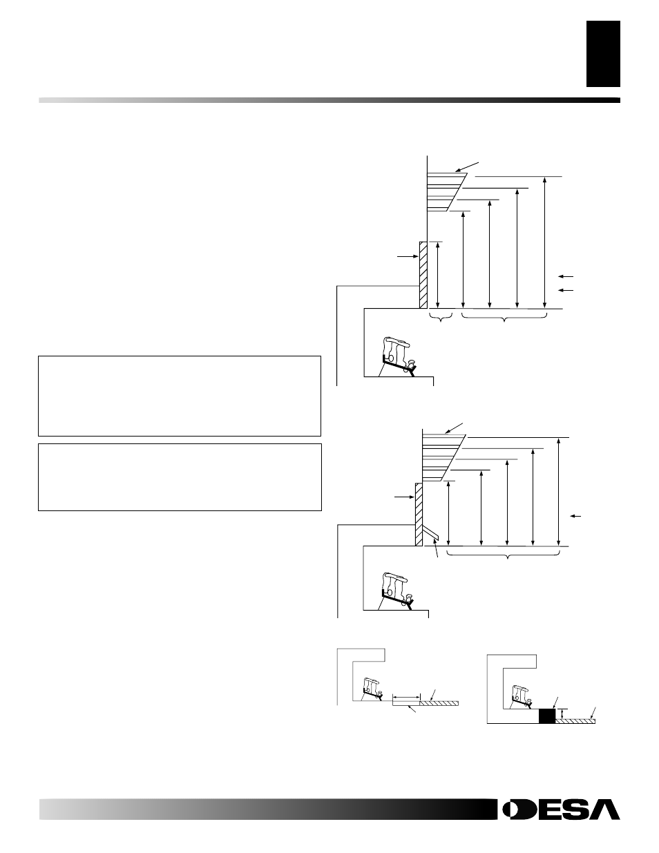
Installation, Continued, Mantel clearances – Desa R User Manual
Page 9: Floor clearances, Determining minimum mantel clearance
See also other documents in the category Desa Grills:
- FB-10BA (26 pages)
- GG30P (32 pages)
- WMP20 (32 pages)
- VN1000BTA (28 pages)
- GWP10T (32 pages)
- LCR16PT (56 pages)
- VN2000BTC (32 pages)
- TC80 (16 pages)
- H.S.I. (40 pages)
- CGP20 (24 pages)
- RP30B (32 pages)
- FAS-5B (28 pages)
- GWP30T WMN20 (28 pages)
- BVDR24 (28 pages)
- TC100RNG (12 pages)
- 75-200 (32 pages)
- VP1600TB (24 pages)
- VGN30B (32 pages)
- CRN30 (32 pages)
- CG10N (26 pages)
- CGN30D (32 pages)
- GWN6 (60 pages)
- CGD3924NR (32 pages)
- FMH26TP (28 pages)
- CGN20L (24 pages)
- VF-18P-PDG (32 pages)
- SL18PT (56 pages)
- VSL18PT (56 pages)
- TD120A (24 pages)
- VGL30PRA (32 pages)
- VGL30NRA (32 pages)
- BLP35E (76 pages)
- CB36P (36 pages)
- VP1000BA (32 pages)
- VRL24NT (44 pages)
- VYM27NR/PR (28 pages)
- CGN30C (32 pages)
- 10542 (32 pages)
- FAS-10BB (26 pages)
- TC275 (12 pages)
- VN10 (20 pages)
- FBS-10BB (26 pages)
- GWRP10 (24 pages)
- FVFM27NR/PR (28 pages)
