Nikon AF-S DX NIKKOR 18-300mm f-3.5-5.6G ED VR User Manual
Page 88

88
Jp
En
De
Fr
Es
Sv
Ru
Nl
Pt
Pb
It
Cz
Sk
Ro
Ua
Ck
Ch
Kr
Id
Escolha entre a redução de vibração NORMAL e ACTIVE de acordo
com a frequência e amplitude da vibração.
• Tremor da câmara: Escolha NORMAL ou ACTIVE.
• Disparar enquanto muda de orientação: Escolha NORMAL.
• Forte tremor da câmara: Escolha ACTIVE.
Utilizar o interruptor ON/OFF da redução da vibração
Utilizar o interruptor de modo da redução da vibração
O interruptor do modo de redução da vibração é utilizado para
seleccionar o respectivo modo quando a redução de vibração está ligada.
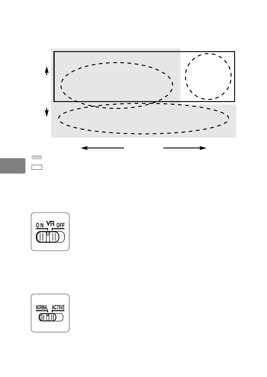
Gra
nde
Frequênc
ia
Pe
qu
ena
Pequena
Amplitude
Grande
: Adequado à redução de vibração NORMAL.
: Adequado à redução de vibração ACTIVE.
Seleccionar
ON para activar a redução de vibração. A redução
de vibração é activada quando o botão de disparo do
obturador é premido ligeiramente, reduzindo os
efeitos do tremor da câmara para melhorar o
enquadramento e a focagem.
Seleccionar
OFF para desligar a redução de vibração.
Seleccione
NORMAL para reduzir a vibração causada
pelo tremor da câmara ou quando mudar a câmara de
orientação.
Seleccione
ACTIVE para reduzir a vibração causada pelo
tremor da câmara ou enquanto dispara a partir de um
carro em movimento, de um barco ou de outra
plataforma instável. Os movimentos de mudança de
orientação não são detectados.
Forte tremor
da câmara
(p.ex., veiculo em
movimento)
Tremor da câmara
Disparar enquanto muda de orientação