Directory
Brands
Powermatic manuals
Power saws
511
Manual

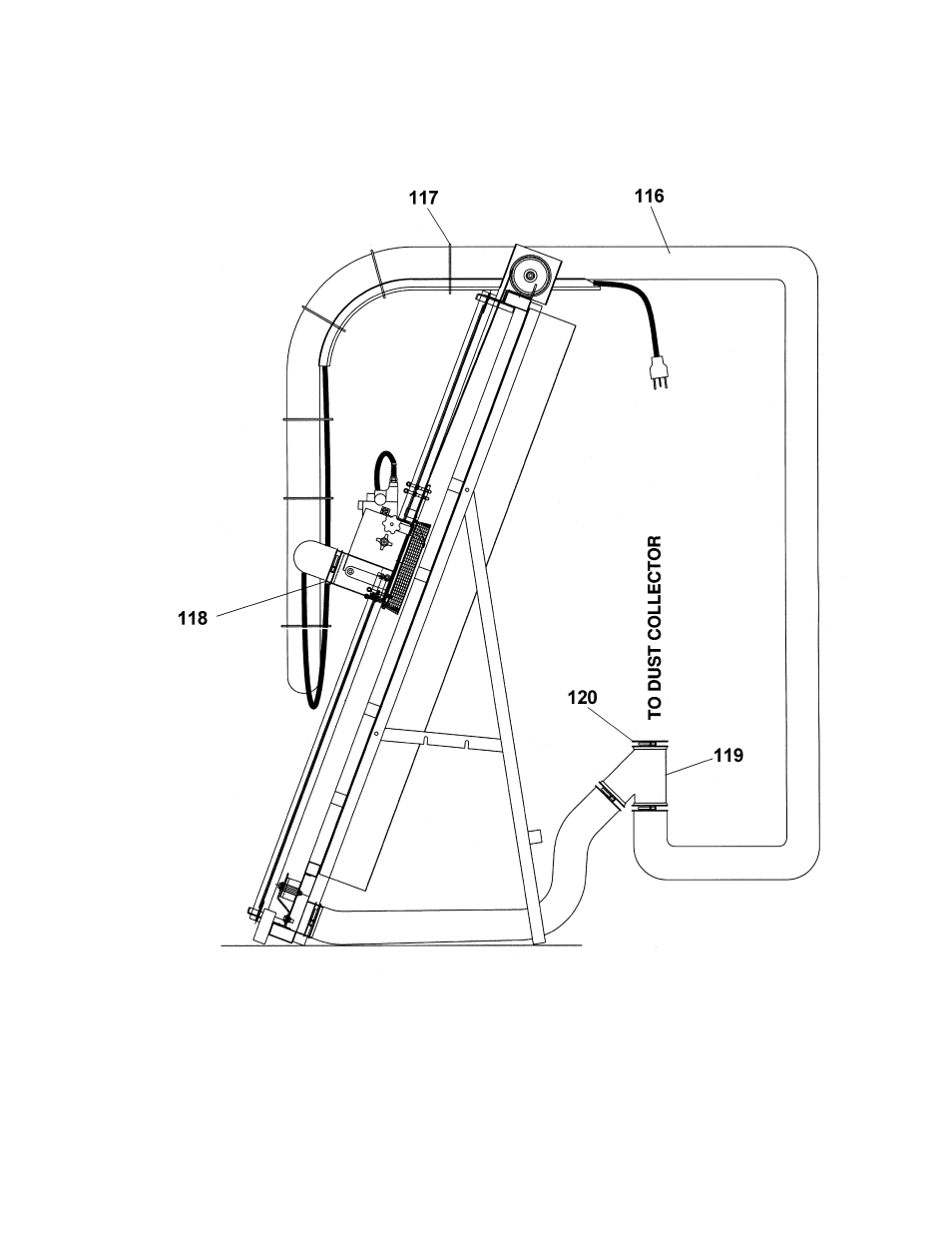
Dust collection system – Powermatic 511 User Manual

Page 27

  • Text mode
  • Original mode
Dust collection system | Powermatic 511 User Manual | Page 27 / 36 Dust collection system | Powermatic 511 User Manual | Page 27 / 36
Pages: 1 … 25 26 27 28 29 … 36
  • wrong Brand
  • wrong Model
  • non readable
See also other documents in the category Powermatic Power saws:
  • 1791228K (36 pages)
  • 2013 (60 pages)
  • Wood Shaper 29 (28 pages)
  • JTG-10Q (12 pages)
  • PM3000 (36 pages)
  • PM2000 (44 pages)
  • SLR12 (4 pages)
  • HPS67 (48 pages)
  • 2415 (2 pages)
  • PWBS-14 (6 pages)
  • PF-BS (24 pages)
  • 2000 (44 pages)
  • COS18 (40 pages)
  • HPS126 (6 pages)
  • 66 (40 pages)
  • WMH TOOL GROUP PWBS14 (40 pages)
  • PM1800 (2 pages)
Home Brands Popular manuals Recently added
Manuals Directory

© 2012–2025, azmanual.top
All rights reserved.