Directory
Brands
Pioneer manuals
Receivers and Amplifiers
PRS-A900
Manual

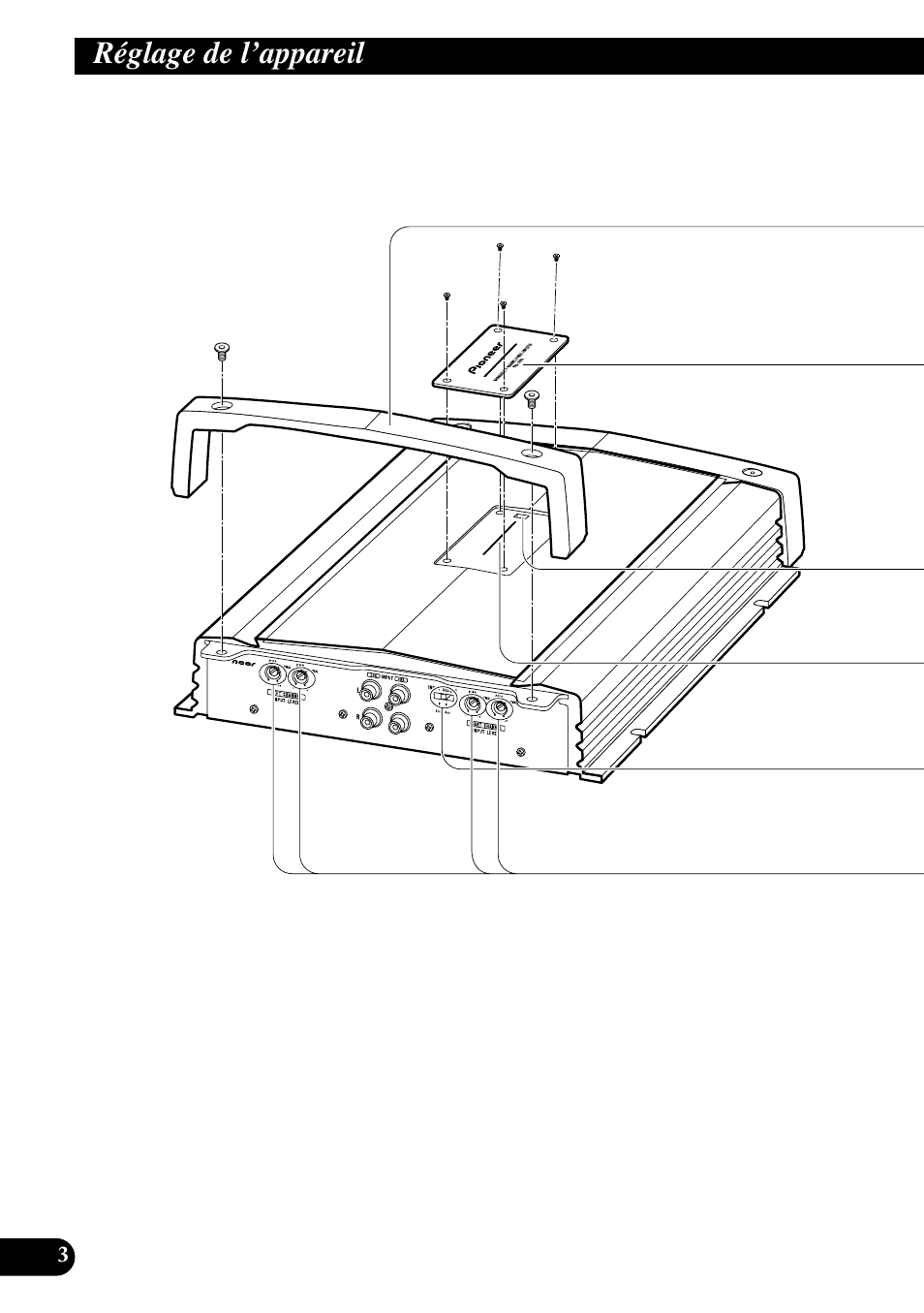
Réglage de l’appareil – Pioneer PRS-A900 User Manual

Page 46

  • Text mode
  • Original mode
Réglage de l’appareil | Pioneer PRS-A900 User Manual | Page 46 / 100 Réglage de l’appareil | Pioneer PRS-A900 User Manual | Page 46 / 100
Pages: 1 … 44 45 46 47 48 … 100
  • wrong Brand
  • wrong Model
  • non readable
See also other documents in the category Pioneer Receivers and Amplifiers:
  • VSX-1020 (260 pages)
  • VSX-LX50 (82 pages)
  • VSX-917V-S/-K (70 pages)
  • VSX-AX2AS-s (92 pages)
  • VSX-AX2AS-s (91 pages)
  • VSX-D514 (75 pages)
  • VSX-418 S (82 pages)
  • MCACC ADVANCED VSX-9140TXH (35 pages)
  • VSX-D938TX (88 pages)
  • XRB3089-A (76 pages)
  • A-109 (12 pages)
  • A-109 (38 pages)
  • A-109 (8 pages)
  • GM-3100T (8 pages)
  • GM-3100T (73 pages)
  • A-A9-J (109 pages)
  • VSX-1125-K (112 pages)
  • VSX-409RDS (40 pages)
  • VSX-409RDS (120 pages)
  • VSX-D712 (72 pages)
  • VSX-D512-K (80 pages)
  • VSX-AX4AVi-S (88 pages)
  • VSX-D2011-S (120 pages)
  • PRS-D400 (99 pages)
  • PRS-D400 (12 pages)
  • VSX-516-S/-K (55 pages)
  • HTZ270DVD (102 pages)
  • Elite VSX-32 (112 pages)
  • VSX-709RDS (68 pages)
  • VSX-709RDS (124 pages)
  • Elite SC-25 (2 pages)
  • VSX-AX5Ai-S (108 pages)
  • S-L9-LRW (142 pages)
  • VSX-918V (76 pages)
  • S-F10-LRW (40 pages)
  • PDK-1014 (84 pages)
  • VSX-1017AV-S (72 pages)
  • VSX-815 (76 pages)
  • Elite VSX-23TXH (123 pages)
  • D2000SPL (128 pages)
  • SC-05 (138 pages)
  • CT-L77 (8 pages)
  • CT-L77 (48 pages)
  • VSX-915-S/-K (84 pages)
  • VSX-LX51 (96 pages)
Home Brands Popular manuals Recently added
Manuals Directory

© 2012–2025, azmanual.top
All rights reserved.