Information on multi-system compatibility, Off-air recording, Playback – JVC HR-J381EM User Manual
Page 13

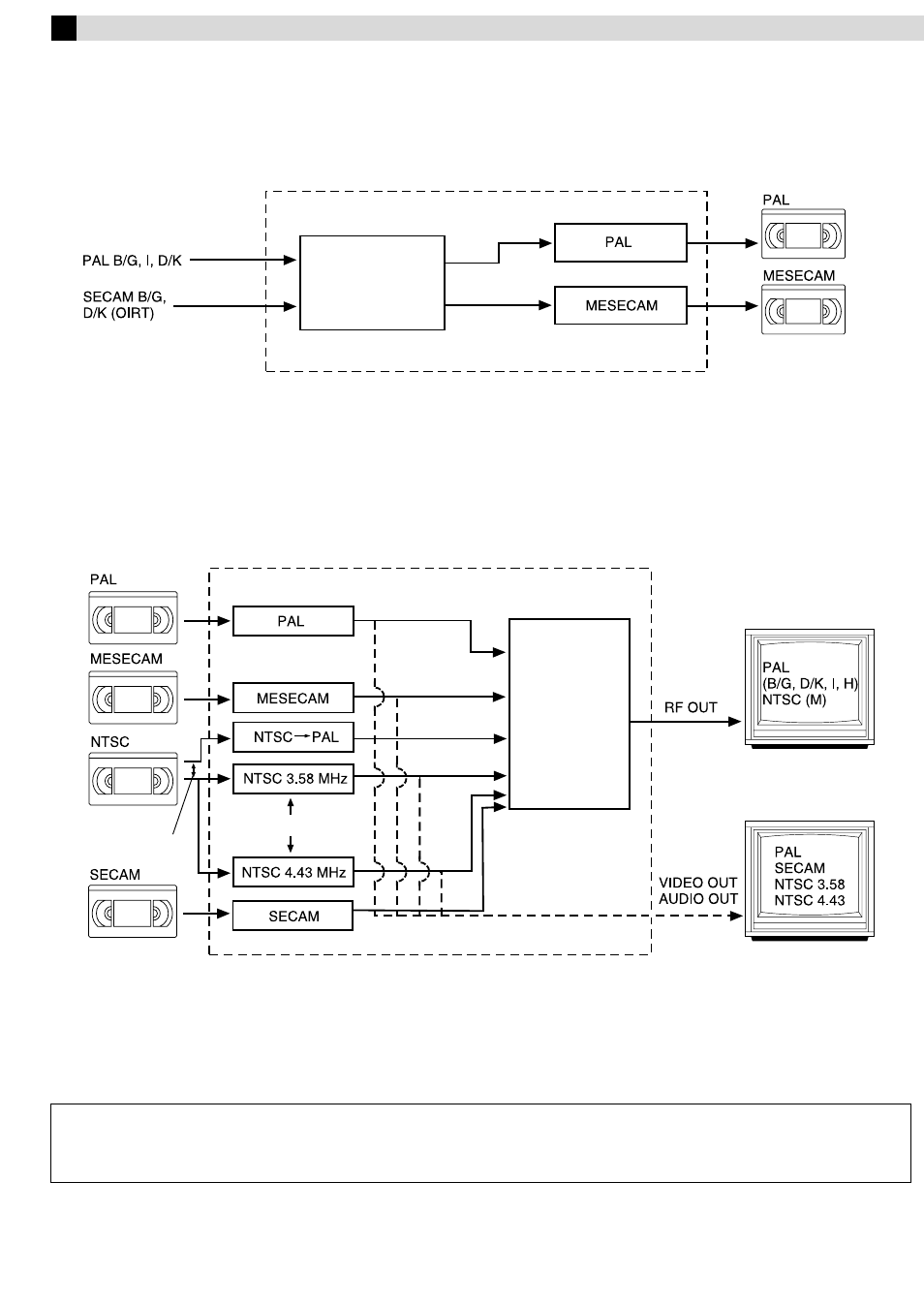
Information on Multi-System Compatibility
Off-Air Recording
The built-in multi-system tuner is capable of receiving PAL B/G, I and D/K, and SECAM B/G and D/K broadcasts.
Playback
This recorder can play back all 4 types of recorded tape.
NOTES:
When viewing NTSC tapes on a PAL TV set:
● The picture may shrink vertically with black bars appearing at the top and bottom of the screen. This is not a malfunction on the part of the
video recorder nor the TV.
● The picture may roll up or down. This can be corrected using the V-HOLD control found on some TVs. (This cannot be corrected if the TV
does not have a V-HOLD control.)
● During search, still, or frame-by-frame playback, the picture will be distorted, and there may be a loss of colour.
ATTENTION:
When this recorder is connected to a multi-system TV, the audio signal may not be heard or may be noisy if the colour system select switch
of the TV is adjusted to the AUTO position. In such a case, set the TV’s colour system select switch to the appropriate position which
corresponds to the TV system you have selected at the TV System Select screen.
TV system
HR-J381EM/HR-J387EM
Recorded tape
Multi-system
tuner
(B/G, I, D/K)
NOTE:
This model does not operate in BRAZIL (PAL-M) or ARGENTINA (PAL-N).
Recorded tape
HR-J381EM/HR-J387EM
Multi-system receiver
Built-in
RF converter
K, I, G, H
Multi-system monitor
Manual switching
Manual switching
Playback circuit
(HR-J387EM only)
