Search
Directory
Brands
Multiquip manuals
Accessories for electrical
Light Tower Mount Type Balloon Light GB2000
Manual
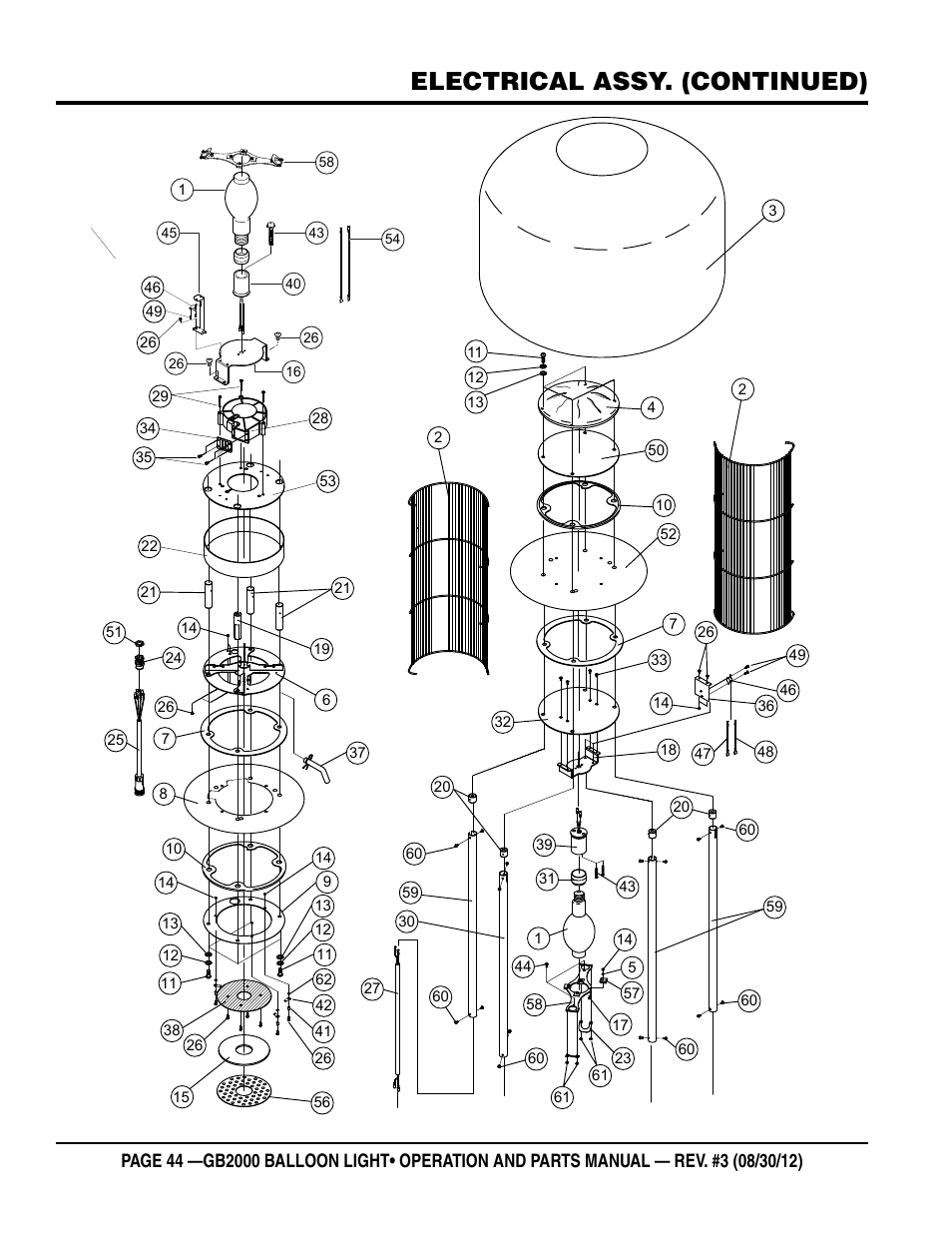
Electrical assy. (continued) – Multiquip Light Tower Mount Type Balloon Light GB2000 User Manual
Page 44
Text mode
Original mode
Electrical assy. (continued) | Multiquip Light Tower Mount Type Balloon Light GB2000 User Manual | Page 44 / 52
Pages:
1
…
42
43
44
45
46
…
52
wrong Brand
wrong Model
non readable