Search
Directory
Brands
Multiquip manuals
Accessories for electrical
Light Tower Mount Type Balloon Light GB2000
Manual
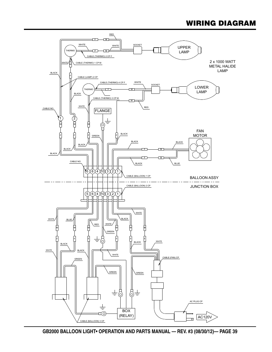
Wiring diagram, Upper lamp – Multiquip Light Tower Mount Type Balloon Light GB2000 User Manual
Page 39
Text mode
Original mode
Wiring diagram, Upper lamp | Multiquip Light Tower Mount Type Balloon Light GB2000 User Manual | Page 39 / 52
Pages:
1
…
37
38
39
40
41
…
52
wrong Brand
wrong Model
non readable