DCS Flat Panel TV User Manual
Page 6

Mounting Cantilever Assembly
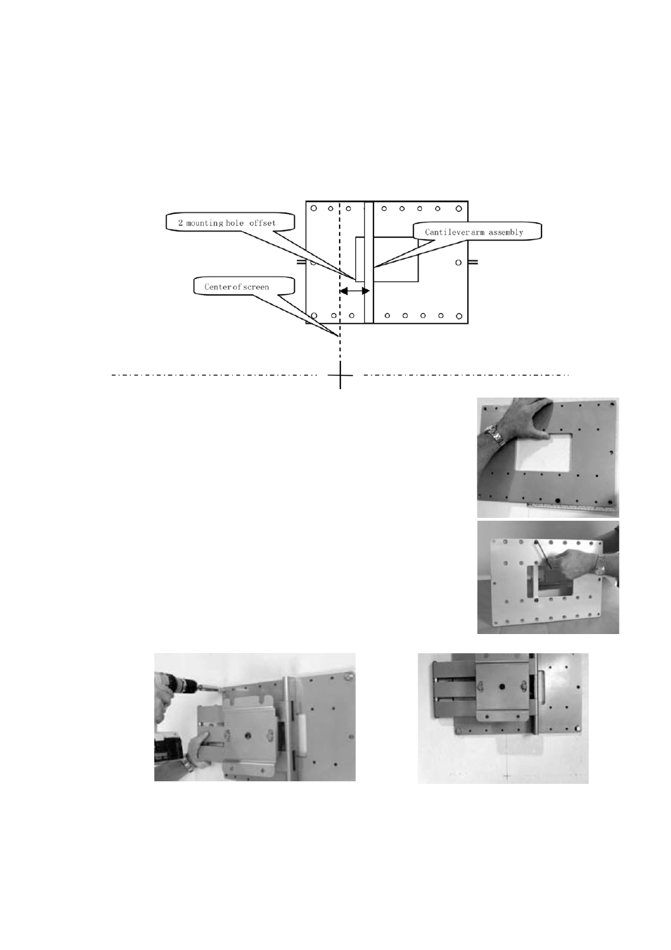
1. Important: for the display to be centered over the wall plate when the cantilever arm is folded, the
arm will need to be offset by approximately 4”(10.1cm) from the desired center position of the
screen. To do this, first not where the desired center of screen position intersects the wall plate, and
then mark the all plate.
2. Attach cantilever arm to the wall plate at the indicated offset location.
3. Mount cantilever assembly to wall using supplied 3/8” lag bolts.
4. Fold cantilever arm to verify center location of mounting head.
Note: the mounting head will be centered with the arm folded in one direction
only.
