Display items, Repeat play, Display items repeat play – Sony DSX-S300BTX User Manual
Page 27

27
Notes
• Do not remove the iPod during playback, otherwise
data may be damaged.
• Do not place non-USB devices on the TUNE TRAY,
or foreign objects, such as coins, keys, cards,
liquids, etc.
• Do not place a flammable object such as a lighter on
the TUNE TRAY, as this may cause smoke, fire, or
other accident.
• For iPod users, use the supplied adaptor XA-50IP. It
is designed for use with this unit (in the TUNE TRAY)
only, and should not be used with the other USB
devices.
• This unit cannot recognize iPod via a USB hub.
• Slide in the TUNE TRAY and close the front panel
before playback, as damage may result in the case
of an obstruction in the car, etc.
• If the front panel does not fully open because of the
dashboard shape at the installation position, detach
the front panel and open the TUNE TRAY manually.
For how to detach the front panel, see page 8.
• It is extremely dangerous to connect or remove the
iPod while driving.
Tips
• When the ignition key is turned to the ACC position,
and the unit is on, the iPod will be recharged.
• If the iPod is disconnected during playback, “NO
Device” appears in the display of the unit.
Resuming mode
When the iPod is connected to the dock
connector, the mode of this unit changes to
resuming mode and playback starts in the mode
set by the iPod.
In Resuming mode, repeat/shuffle play does not
function.
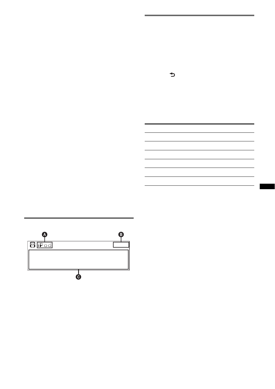
Display items
A
Source (iPod) indication
B
Clock
C
Artist name/Album name, Track name,
Album number/Track number/Elapsed
playing time
To change display items C, press (DSPL).
Tip
When album/podcast/genre/artist/playlist is changed,
its item number appears momentarily.
Notes
• Playing tracks in shuffle play is selected from a
current iPod.
• Some letters stored in iPod may not be displayed
correctly.
Repeat play
1
Press and hold the multi way encoder.
2
Rotate the multi way encoder to select
“Repeat,” then press it.
3
Rotate the multi way encoder to select
the setting, then press it.
The setting is complete.
4
Press
(BACK).
The setting is complete and the display
returns to normal reception/play mode.
(with the card remote commander)
1
During playback, press (1) (REP)
repeatedly until the desired setting
appears.
After 3 seconds, the setting is complete.
To return to normal play mode, select “Repeat
off.”
Select
To play
Repeat Track
track repeatedly.
Repeat Album
album repeatedly.
Repeat Podcast
podcast repeatedly.
Repeat Artist
artist repeatedly.
Repeat Playlist
playlist repeatedly.
Repeat Genre
genre repeatedly.
