Cw break-in, Electronic keyer – Kenwood TS-480SAT User Manual
Page 47

39
8 COMMUNICATING AIDS
CW BREAK-IN
Break-in allows you to transmit CW without manually
switching between transmission and reception
modes. Two types of Break-ins are available: Semi
Break-in and Full Break-in.
Semi Break-in:
When the key contacts open, the transceiver
automatically waits for the passage of the time period
that you have selected. The transceiver then returns
to reception mode.
Full Break-in:
As soon as the key contacts open, the transceiver
returns to reception mode.
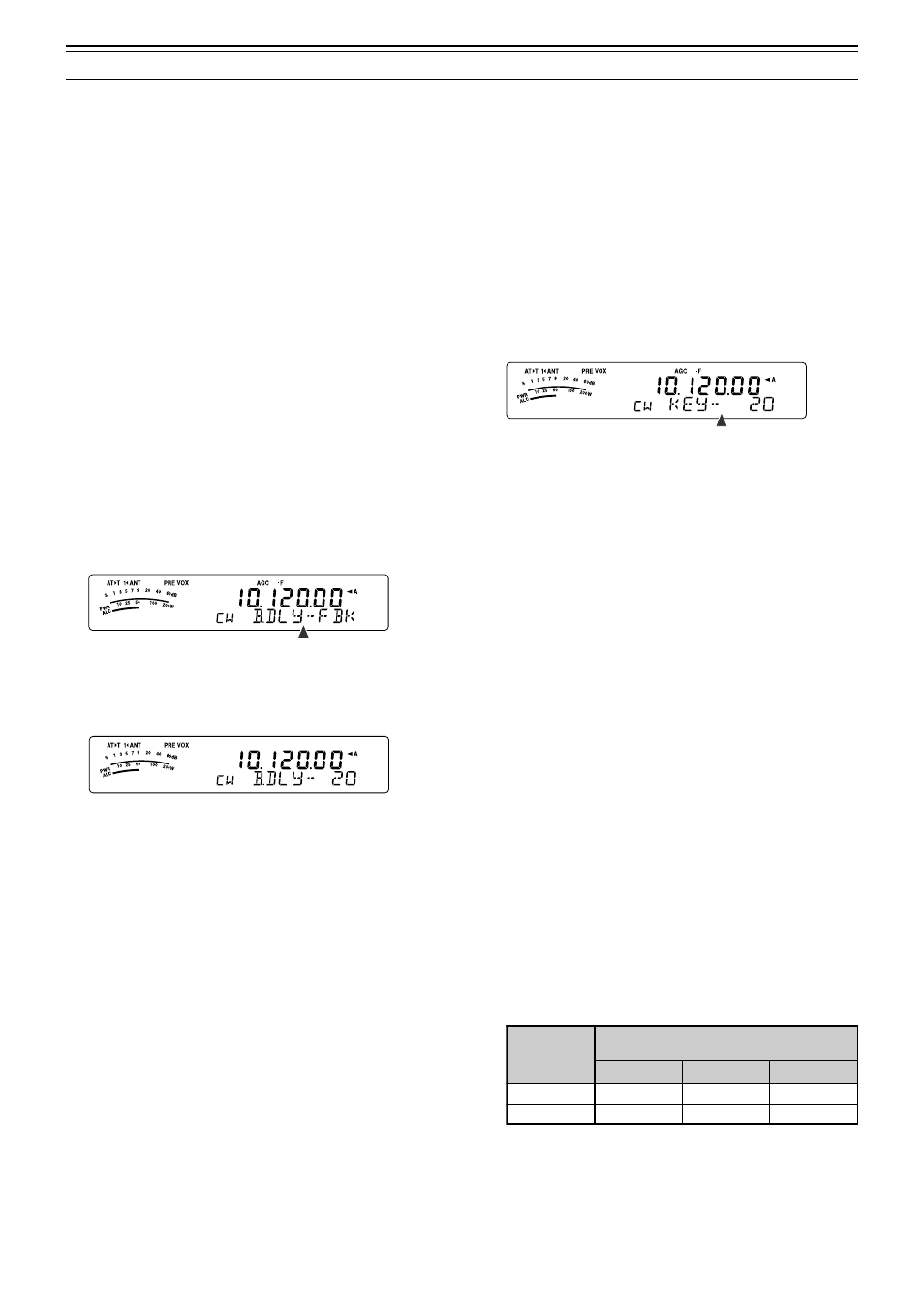
USING SEMI BREAK-IN OR FULL BREAK-IN
1 Press [MODE] until you select CW mode.
•
“CW” or “CWR” appears.
2 Press [VOX/ 8].
•
“VOX” appears.
3 Press [KEY/ 6/ DELAY] (1 s).
•
The current setting (FBK or delay time)
appears. The default is FBK (Full Break-in).
4 Turn the MULTI control to select “FBK” (Full
Break-in) or a delay time for Semi Break-in.
•
Delay time ranges from 5 to 100 (50 ms to
1000 ms) in steps of 5.
5 Begin sending.
•
The transceiver automatically switches to
transmission mode.
•
When FBK (Full Break-in) is selected:
The transceiver immediately switches to
reception mode when the key opens.
•
When a delay time is selected:
The transceiver switches to reception mode
after the delay time that you have selected has
passed.
6 Press [MTR/ CLR] to exit.
Note:
FBK (Full Break-in) cannot be used with the TL-922/ 922A
linear amplifier.
ELECTRONIC KEYER
This transceiver has a built-in electronic keyer that
can be used by connecting a keyer paddle to the
transceiver’s rear panel. Refer to “Keys for CW
(PADDLE and KEY)” {page 7} for details regarding
this connection. The built-in keyer supports lambic
(squeeze) operation.
CHANGING KEYING SPEED
The keying speed of the electronic keyer is fully
adjustable. Selecting the appropriate speed is
important in order to send error-free CW that other
operators can copy solidly. Selecting a speed that is
beyond your keying ability will only result in mistakes.
You will obtain the best results by selecting a speed
that is close to the speed used by the other station.
1 Press [MODE] until you select CW mode.
•
“CW” or “CWR” appears.
2 Press [KEY/ 6/ DELAY].
•
The current keying speed appears. The default
is 20 (WPM).
3 While keying the paddle and listening to the TX
(transmission) sidetone, turn the MULTI control to
select the appropriate speed.
•
The speeds range from 10 (WPM) to 60 (WPM),
in steps of 1 (WPM). The larger the number, the
faster the speed.
4 Press [KEY/ 6/ DELAY] again to complete the
setting.
Note:
When using the semi-automatic “Bug” function, the selected
speed applies only to the rate that dots are sent.
AUTO WEIGHTING
The electronic keyer can automatically change the
dot/ dash weighting. Weighting is the ratio of dash
length to dot length. The weighting changes with
your keying speed automatically, thus making your
keying easier for other operators to copy (default).
Access Menu No. 35 to select “AUto” or “2.5” ~ “4.0”
(in steps of 0.1) fix weight ratio. The default is AUTO.
When the fix weight ratio is selected, the dot/ dash
weight ratio is locked regardless of the keying speed.
■
Reverse Keying Weight Ratio
Auto Weighting increases the weighting as you
increase your keying speed. However, the
electronic keyer also can decrease the weighting
as you increase your keying speed.
To switch this function ON, access Menu No. 36,
and select “on”. The default is OFF.
e
s
r
e
v
e
R
g
n
i
y
e
K
t
h
g
i
e
W
)
M
P
W
(
d
e
e
p
S
g
n
i
y
e
K
5
2
~
0
1
5
4
~
6
2
0
6
~
6
4
F
F
O
8
.
2
:
1
0
.
3
:
1
2
.
3
:
1
N
O
2
.
3
:
1
0
.
3
:
1
8
.
2
:
1
