Directory
Brands
HT instruments manuals
Tools
PVCHECK
Manual

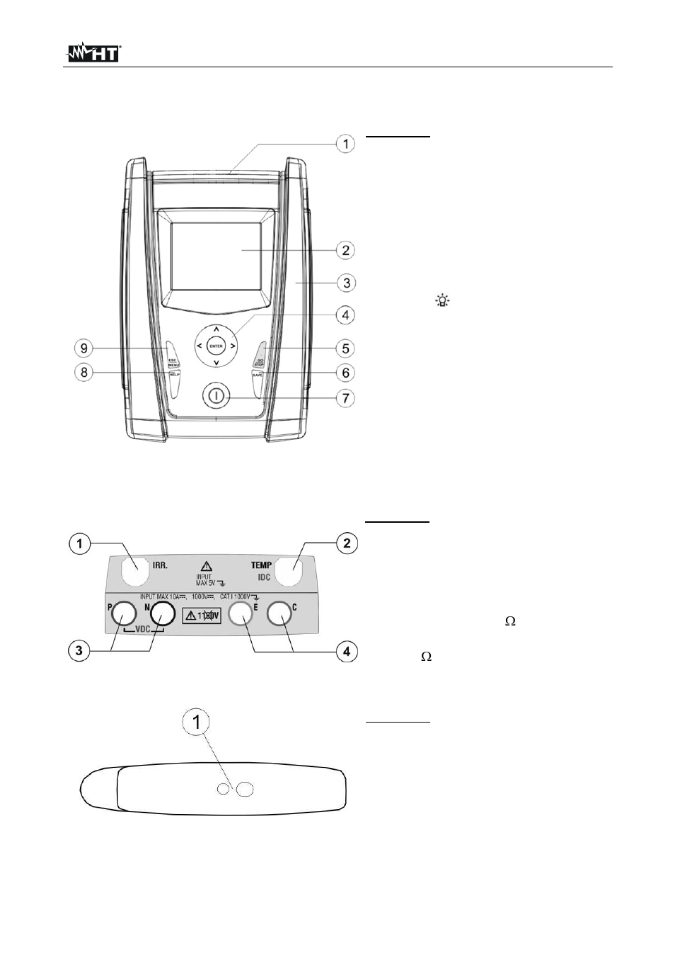
Nomenclature – HT instruments PVCHECK User Manual

Page 9

  • Text mode
  • Original mode
Nomenclature | HT instruments PVCHECK User Manual | Page 9 / 68 Nomenclature | HT instruments PVCHECK User Manual | Page 9 / 68
Pages: 1 … 7 8 9 10 11 … 68
  • wrong Brand
  • wrong Model
  • non readable
See also other documents in the category HT instruments Tools:
  • COMBI419 (88 pages)
  • COMBIG3 (108 pages)
  • EQUITEST5071 (44 pages)
  • FULLTEST3 (92 pages)
  • GEO416 (116 pages)
  • HT12 (4 pages)
  • HT14N (12 pages)
  • HT154 (13 pages)
  • HT155 (68 pages)
  • HT20 (6 pages)
  • HT20 (5 pages)
  • HT204 (8 pages)
  • HT2055 (35 pages)
  • HT21 (17 pages)
  • HT210 (19 pages)
  • HT2234N (14 pages)
  • HT300 (9 pages)
  • HT307 (11 pages)
  • HT309 (13 pages)
  • HT32 (23 pages)
  • HT321 (16 pages)
  • HT326 (21 pages)
  • HT327 (21 pages)
  • HT3301 (16 pages)
  • HT3320 (30 pages)
  • HT37 (24 pages)
  • HT4000 (15 pages)
  • HT401 (24 pages)
  • HT4010 (76 pages)
  • HT4011 (21 pages)
  • HT4012 (84 pages)
  • HT4014 (23 pages)
  • HT4020 (152 pages)
  • HT5 (12 pages)
  • HT5000 (31 pages)
  • HT6 (16 pages)
  • HT603 (5 pages)
  • HT70 (6 pages)
  • HT701 (26 pages)
  • HT7052 (120 pages)
  • HT712 (17 pages)
  • HT77N (14 pages)
  • HT78 (16 pages)
  • HT8000 (16 pages)
  • HT8051 (74 pages)
Home Brands Popular manuals Recently added
Manuals Directory

© 2012–2025, azmanual.top
All rights reserved.