Track1 track1 eq hi g=0db eq hi g=0db, Track2 track2 eq hi g=0db eq hi g=0db, Adjusting a track parameter – Zoom HD16 User Manual
Page 79

Reference [Mixer]
ZOOM HD8/HD16
79
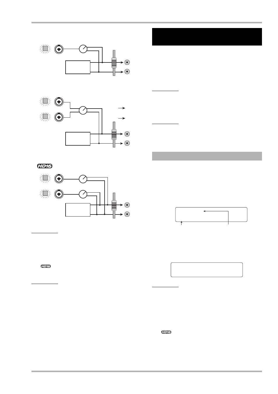
● No track selected as recording track
NOTE
• The diagrams above show the signal flow when the insert effect
has not been inserted into the input mixer. When the insert effect
is inserted, the signal flow will change, depending on the number
of input and output channels of the effect (
→ p. 128).
• <<
only>> In 8-track recording mode (
→ p. 46), the
signals from inputs 1 – 8 are sent to tracks 1 – 8.
HINT
• When no recording track is selected, the input signals are sent
directly to the [MASTER] fader. The pan controls of the input
mixer can be used to adjust the panning value of the signal sent
to the [MASTER] fader. (When a recording track is selected, the
pan setting of the input mixer has no effect on the signal.)
• By using the bounce function, you can apply the send/return
effect to the input signal for recording (
→ p. 44).
The input mixer and track mixer let you adjust various aspects
for each track (called track parameters), such as panning and
send/return effect intensity. This can be done for each track
individually.
This section describes how to adjust track parameters.
NOTE
For stereo tracks and the drum track, parameter settings
except phase and V-take number (audio tracks only) are linked
for the L/R channels.
HINT
The parameter knobs above the faders let you quickly adjust
main parameters for a track (
→
p. 81).
1.
From the main screen, press the [TRACK
PARAMETER] key in the control section.
The first line of the display shows the track/input and the
second line shows the name of the parameter that is being
adjusted.
2.
Use the cursor left/right keys to select the
track/input.
You can also use the status keys to select a track.
HINT
• When switching the V-take of a stereo track, each push of the
key toggles between the odd-numbered and even-numbered
track.
• When selecting the drum/bass track with the [RHYTHM] status
key, each push of the key toggles the target track. This also
changes the track that can be controlled with the pad and fader.
• <<
only>> In 8-track recording mode, eight inputs can be
used simultaneously. In this case, you can select the input with
the respective [ON/OFF] key and adjust track parameters for
each input (except for the record level). The display will show the
number of the input (INPUT 1, INPUT 7, etc.).
Track mixer
Track mixer
Track mixer
ON/OFF
ON/OFF
ON/OFF
ON/OFF
ON/OFF
[MASTER] fader
[MASTER] fader
[MASTER] fader
only (8-track recording enabled)
Input with lower
number L
Input with higher
number R
OUTPUT
L
R
L
R
OUTPUT
PAN
PAN(BALANCE)
INPUT 1
INPUT 1
INPUT 2
L
R
OUTPUT
PAN
PAN
INPUT 1
INPUT 2
Adjusting the signal for each
track (track parameters)
Adjusting a track parameter
Track1
Track1
EQ HI G=0dB
EQ HI G=0dB
Parameter name
Track/input
Track2
Track2
EQ HI G=0dB
EQ HI G=0dB
