Dcs code id – Kenwood TM-V71E User Manual
Page 62

54
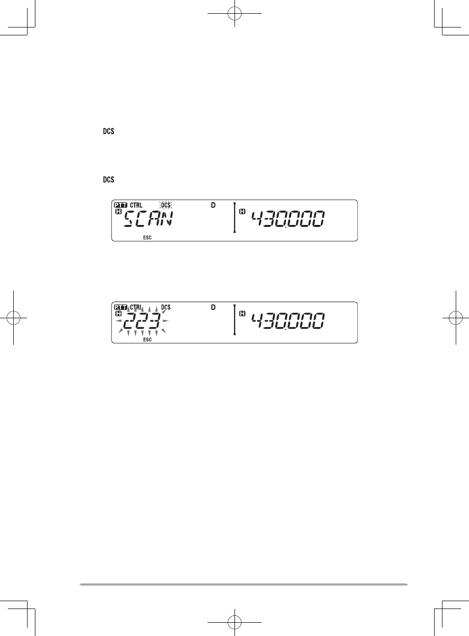
DCS CODE ID
This function scans through all DCS codes to identify the incoming DCS code on
a received signal. You may find it useful when you cannot recall the DCS code
that the other persons in your group are using.
1 Press [TONE] 3 times to activate the DCS function.
• The
icon appears on the display when the DCS function is ON.
• Each press of
[TONE] changes the selection as follows:
Tone (T) –> CTCSS (CT) –> DCS (DCS) –> Off (no display).
2 Press [F], [TONE] (1s).
• The
icon blinks and “SCAN” appears on the display.
• Scan starts when a signal is received.
• To reverse the scan direction, turn the
Tuning control clockwise (upward scan) or
counterclockwise (downward scan). You can also press microphone
[UP]/ [DWN].
• To quit the scan, press
[F] (ESC).
• When a DCS code is identified, the identified code appears on the display and
blinks.
3 Press the Tuning control to program the identified code in place of the
currently set DCS code.
• The DCS function will remain ON. To cancel DCS, press
[TONE] until DCS no
longer appears on the display.
• Press
[F] (ESC) if you do not want to program the identified code.
• Rotate the
Tuning control while an identified code is blinking, to resume scanning.
