Belichtungskorrektur, Stroboskopbetrieb – SIGMA EF-500 User Manual
Page 37

37
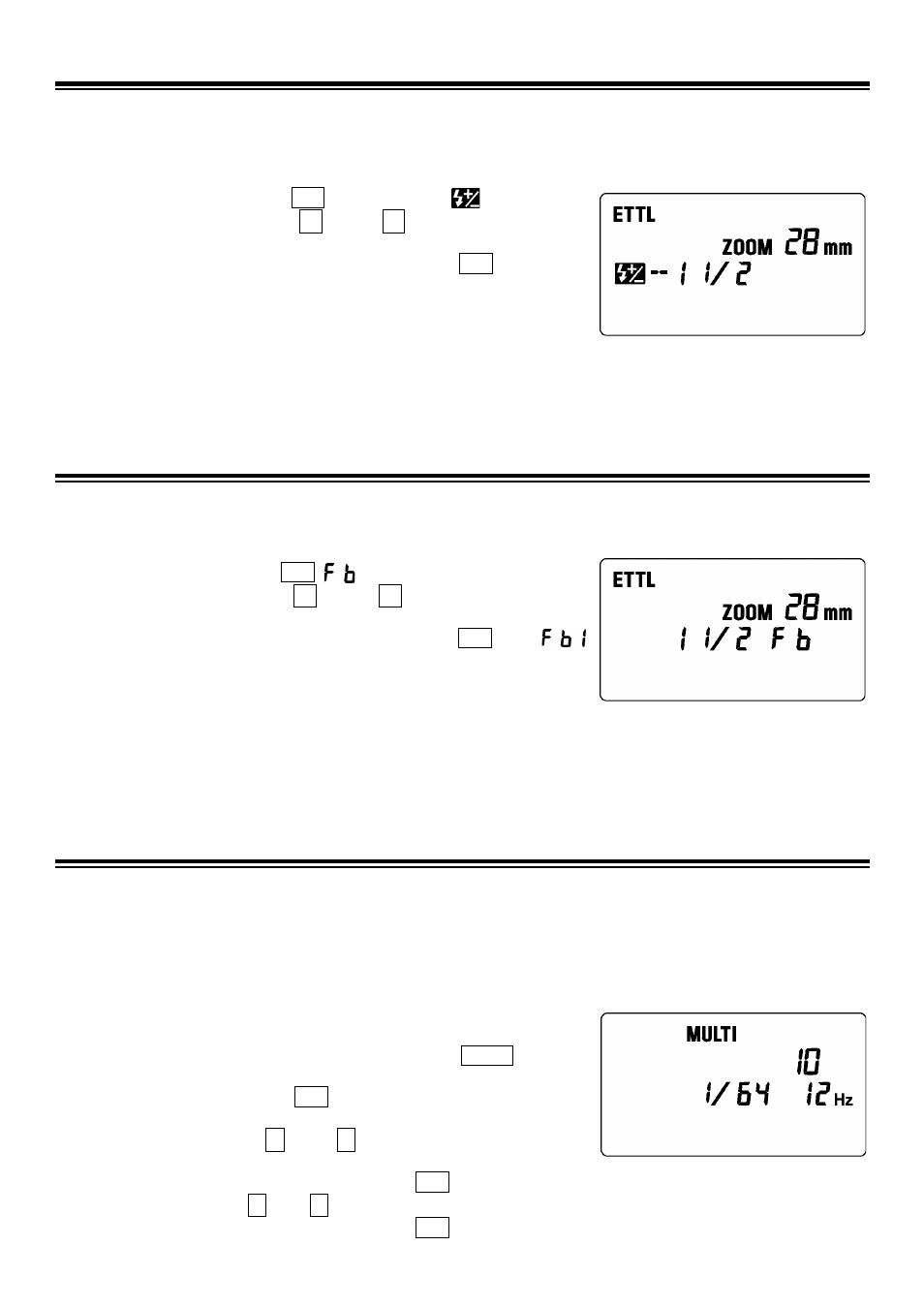
Belichtungskorrektur
Sie können die Blitzbelichtungskorrektur mit der normalen Belichtungskorrektur in Ihren Blitzaufnahmen
kombinieren, um die Hintergrundhelligkeit zu kontrollieren. Die Korrektur kann in dem Bereich von +/- 3
Stufen in 1/3 Schritten (bei einigen Kameramodellen in 1/2 Schritten) erfolgen.
ۋ
Diese Funktion steht an den Modellen EOS 620, 650, 700, 850 und 1000 nicht zur Verfügung.
1. Drücken Sie die Wahltaste SEL und wählen Sie
2. Drücken Sie die Tasten 㸠 oder 㸢 , um die gewünschte
Blitzbelichtungskorrektur zu wählen.
3. Nach dem erneuten Druck auf die Wahltaste SEL stoppt das
Blinken und die Anzeige erscheint permanent.
4. Stellen Sie Ihr Motiv scharf.
5. Vergewissern Sie sich bitte, dass sich das Objekt innerhalb der
auf dem LCD des EF 500 Super angezeigten Reichweite befindet.
6. Nachdem die Bereitschaftslampe Zündbereitschaft signalisiert, können Sie die Aufnahme machen.
ۋ
Um die Belichtungskorrektur zu löschen, beginnen Sie bitte von Schritt 1 an und wählen den Wert
„±0“ auf dem Display.
FB (Blitz-Belichtungsreihen) Nur Kameras der Gruppe A
Mittels der Blitz-Belichtungsreihe können Sie von einem Motiv unter Beibehaltung der
Hintergrundbelichtung eine Streuung der Blitzbelichtung in 1/3 Stufen (einige Modelle ½) um bis zu +/- 3
Blenden vornehmen.
1. Drücken Sie die Wahltaste SEL;
beginnt zu blinken.
2. Drücken Sie die Tasten 㸠 oder 㸢 , um die gewünschte
Belichtungsstreuung zu wählen.
3. Nach dem erneuten Druck auf die Wahltaste SEL wird
angezeigt.
4. Stellen Sie Ihr Motiv scharf.
5. Vergewissern Sie sich bitte, dass sich das Objekt innerhalb der auf
dem LCD des EF 500 Super angezeigten Reichweite befindet.
6. Nachdem die Bereitschaftslampe Zündbereitschaft signalisiert können Sie die Aufnahme anfertigen.
7. Wiederholen Sie die Schritte 4 bis 6 für die weiteren Aufnahmen.
ۋ
Nach der dritten Aufnahme wird die Funktion automatisch beendet.
Stroboskopbetrieb
Während der Verschluss geöffnet ist, sendet das Blitzgerät eine Serie von Blitzen aus. Hierdurch entsteht
auf einem Bild eine Sequenz von Aufnahmen eines Motivs. Ein helles Motiv vor dunklem Hintergrund ist am
effektivsten für diese Funktion. Die Blitzfrequenz kann zwischen 1 Hz und 199 Hz eingestellt werden. Bis zu
100 Blitze können kontinuierlich abgegeben werden. Die maximale Anzahl von Blitzen variiert in
Abhängigkeit von der Leitzahl und der eingestellten Frequenz. Bitte beachten Sie die Tabelle 3.
ۋ
Diese Funktion steht an den Modellen EOS 700, 750 und 850 nicht zur Verfügung.
1. Stellen Sie die Belichtungsfunktion der Kamera auf M und stellen
Sie eine Blende ein.
2. Drücken Sie wiederholt die Betriebsartentaste MODE, bis die
Stroboskopanzeige MULTI erscheint.
3. Drücken Sie die Wahltaste SEL, bis die Blitzfrequenzanzeige zu
blinken beginnt.
4. Drücken Sie die Taste 㸠 oder 㸢, um den gewünschten Wert
einzustellen.
5. Nach dem erneuten Druck auf die Wahltaste SEL beginnt die Angabe der Blitzleistung zu blinken.
6. Drücken Sie die Taste 㸠 oder 㸢, um den gewünschten Wert einzustellen.
7. Nach dem erneuten Druck auf die Wahltaste SEL beginnt der Wert der Blitzanzahl zu blinken.
