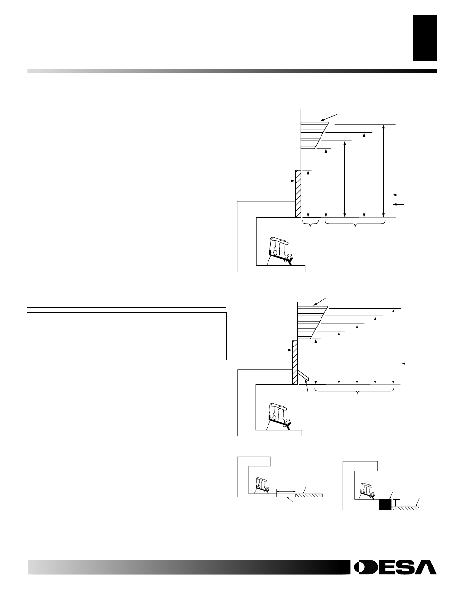
Installation, Continued, Mantel clearances – Desa A Remote-Ready User Manual
Page 9: Floor clearances, Determining minimum mantel clearance
This manual is related to the following products:
See also other documents in the category Desa Radiators:
- CGN6L (28 pages)
- VTD-30N-JHB (16 pages)
- CRL3124P/N (44 pages)
- CCL3018PTA/NTA (42 pages)
- AND TT30 10 (32 pages)
- CGN10RL (20 pages)
- CCL3930PRA (36 pages)
- 105801-09 (4 pages)
- DNV25NB (30 pages)
- VYGF33NRB (40 pages)
- BY70CEH (26 pages)
- CLD3924NTA (36 pages)
- CLD3018PT (36 pages)
- CLD3924NTA (36 pages)
- BLP375AT (36 pages)
- CGS2718N (32 pages)
- CLD3018NA (36 pages)
- CGN12A (28 pages)
- BLP375A (12 pages)
- FA-30BB (24 pages)
- CGN18B (32 pages)
- VS18PRA (26 pages)
- CGP10RLA (20 pages)
- CG6P (26 pages)
- C36TO (4 pages)
- CGD3924P (44 pages)
- B110BT (16 pages)
- VTP22R (48 pages)
- AND TT15A 10 (32 pages)
- CGP6 (20 pages)
- B70D (14 pages)
- CGR2N (20 pages)
- B350CE (24 pages)
- Btu (16 pages)
- BY150ECA (24 pages)
- BLP30 (14 pages)
- CGD3930N (40 pages)
- 70 (32 pages)
- 000-24 (32 pages)
- D30H (22 pages)
- CGD3930N (40 pages)
- CLD3018PTA (36 pages)
- CGN10 (28 pages)
- VP26T (34 pages)
- CGN6 (20 pages)
