2 auto zero function – KERN & SOHN ABJ 320-4NM User Manual
Page 50

50
ABS-N_ABJ-NM-BA -e-1312
12.2 Auto zero function
The auto zero function is not available when formula mode is enabled
(see chapter 14.3).
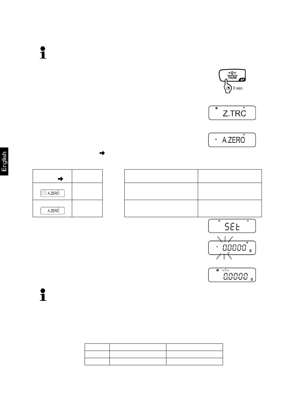
1. Call up menu
Press TARE for 3 sec. in weighing mode.
2. Select function
Press the navigation buttons ( ) repeatedly until
„A.ZERO“ is displayed. The current setting is marked by
the stability display ( ).
Further steps depend on the desired setting:
Stability
display (
)
Function
set/update
cancel
yes
ON
Press PRINT and
continue with step 3.
Press TARE and
continue with step 4.
no
off
Press TARE and
continue with step 3.
continue with step 4.
3. Define zero range
Press TARE
Use the navigation keys ( ) to enter the zero range
see chpt. 3.1.1 „Numeric input“.
4. Return to weighing mode
Press ON/OFF repeatedly or for 3 sec.
When entering the zero range observe the currently set weighing unit.
If the weighing unit is changed at a later moment, the zero range must be
adapted to the new weighing unit (step 3.).
Upper limit zero range: 99 d (in the displayed weighing unit)
Lower limit zero range: 1d (in the displayed weighing unit)
Example for a balance d = 0.0001 g
Unit
Lower limit
Upper limit
g
0.0001 g
0.0099 g
ct
0.001 ct
0.099 ct
